毫無疑問,可摺疊螢幕的技術已經成為了近一兩年電子產品發展的一個重要方向,除了智慧型手機、電視都有搭配柔性螢幕技術的新產品,甚至像是筆記型電腦也有對應的發展,例如去年 Lenovo 所發表的 ThinkPad X1 Fold 就是一款可摺疊螢幕的筆電,而其他像是微軟、Intel、Dell 等電腦大廠,也同樣朝向此領域發展,知名的商務品牌 HP 自然也不例外。
你可能對這個有興趣…
- 辦公軟體全場最便宜 4 折起!Office、作業系統限時特殺最低價!
- 不出門也能買菜!新會員還有首購禮!
- 無綁約、無受限的電信選擇-無框行動,申辦就有機會獲得 7-11 $600 禮券
- 高速穩定、自由翻牆:Ivacy VPN 獨家超高折扣只有這裡

根據 LetsGoDigital 的報導,HP 在 2020 年 8 月 13 日獲得 WIPO(世界知識產權局)的批准,獲取了一個可摺疊螢幕的實用新型專利,而專利內容的示意是一個類似於 Moto RAZR 與三星 Galaxy Z Flip 的直式型翻蓋式手機,而這也是 HP 自 2016 年的 Elite X3 之後,再次發佈的新款手機設計。




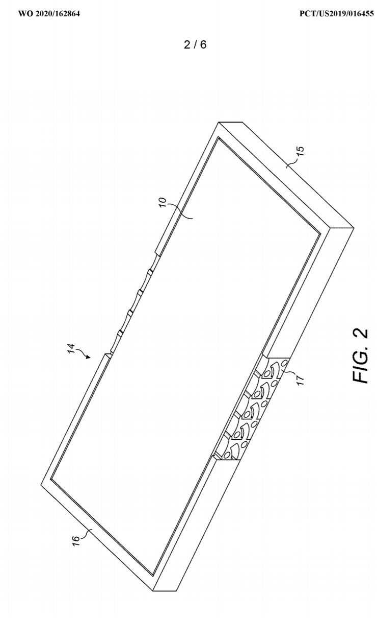
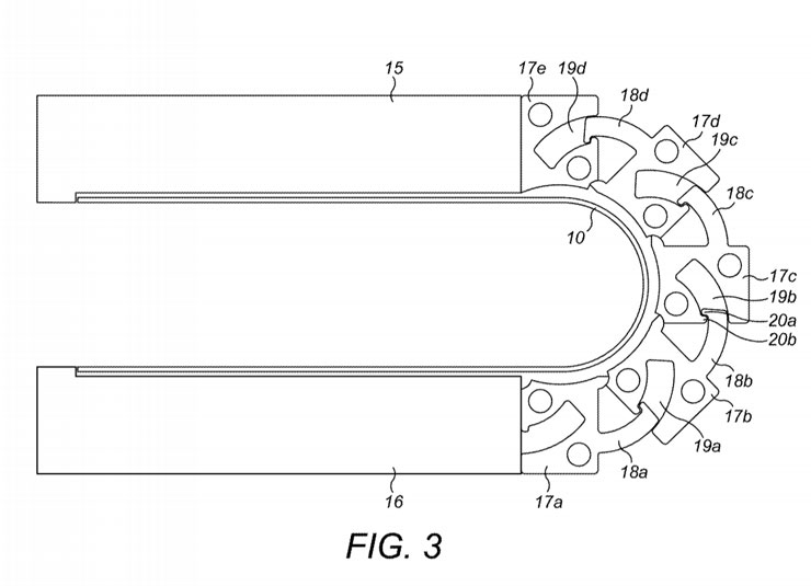
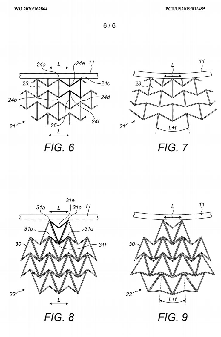
從設計中可以看出,這款新機採用了可摺疊螢幕的設計,雖說專利文件並未針對手機的細節說明-像是前鏡頭的位置、後鏡頭的規格與螢幕尺寸,但還是可以看出它的獨特設計-與 Galaxy Z Flip、Moto RAZR 最大的不同就是,為了解決可摺螢幕在反覆摺疊時造成螢幕「內表面長度相較於外表面的變形」,因此他們改以可拉伸的「拉脹材料(auxetics)」作為螢幕面板的黏合劑或其他輔助性材料,來強化螢幕摺疊的耐用性。


此外,HP 對於可摺疊螢幕的摺疊方式也有不同的設計,除了一般常見的完全對摺,也有在摺疊時會保留部份螢幕空間,作為來電顯示通知之用的設計。

此外,HP 的可摺疊螢幕手機,也採用了可滑動鏈結的鉸鏈設計,因此可以像 Galaxy Z Flips 與 Galaxy Z Fold2 一樣,讓螢幕維持在一定角度的半開狀態,作為實際應用的一些變化,像是免手持操作,或是分割螢幕使用…等方式。

由於目前 Windows Phone 系統已完全瓦解,但 HP 與微軟合作多年,或許新手機的作業系統選擇 Windows 10X 也有一定的可能性,只不過 Windows 10X 的發佈時間目前還未有確認,有新的傳言指出 2021 年春季就將會推出,但在 2022 年才會支援雙螢幕的功能,而微軟的 Surface Neo 雙螢幕平板電腦目前也還沒有消息,實際的狀況也還未可知。

但 HP 的「本業」還是在個人電腦市場上,因此也不排除這樣的可摺疊螢幕技術會先應用在筆電產品上,或許有機會看到 HP 在 Lenovo 的 ThinkPad X1 Fold 之後推出另一款商品化的可摺疊螢幕筆電產品。
你可能對這個有興趣…
- 辦公軟體全場最便宜 4 折起!Office、作業系統限時特殺最低價!
- 不出門也能買菜!新會員還有首購禮!
- 無綁約、無受限的電信選擇-無框行動,申辦就有機會獲得 7-11 $600 禮券
- 高速穩定、自由翻牆:Ivacy VPN 獨家超高折扣只有這裡
相關連結:
Opvouwbare telefoon van HP is ook een clamshell toestel | LetsGoDigital
HP 可摺疊螢幕設備專利
歷史上的這一天,我還寫了…
- iPhone 17 系列預購表現優於 iPhone 16 系列,「這一款」依舊最熱銷! - 2025
- iPhone 16 首週預購量出爐!iPhone 16 Plus 銷售成長近 5 成,但 Pro 依舊是大家最愛! - 2024
- 熱烈好評回歸!Logi Store 快閃店進駐桃園台茂購物中心!開幕滿額 3000 元現折 200 元! - 2023
- Motorola 推兩款中階入門機 moto g62 與 e32,搭電信方案 0 元帶回家! - 2022
- 為創作者而生!小米發表 Xiaomi 11 系列,強調電影級製作能力與超凡性能! - 2021
- 市場制霸?三星今年在可摺疊螢幕手機市場份額將達到 80% 以上! - 2020
- [IoT] 佈局懶人經濟?遠傳愛講智慧音箱搭配「Surco 雲端家電遙控」打造「智慧控製生態圈」,傳統家電也能無痛升級智慧化! - 2019
- [Biz] 羅技攜手Microsoft、Zoom打造完善視訊會議整合方案,推出視訊會議周邊新品「TAP」、「ZONE WIRELESS」! - 2019
- [Mobile] 三星 10/11 將舉行新機發表活動,主打「4x fun」代表將推出四鏡頭手機? - 2018
- [Unbox] 自由翻轉、靈感隨想隨記的頂級商務應用之選:Lenovo ThinkPad Yoga 370 深度實測! - 2017













無留言