根據外媒報導指出,微軟可能也將進軍「可摺疊螢幕手機」這個領域,雖說在過去微軟在智慧型手機的成績並不算理想,但仍有不少讓人印象深刻的產品,其中最「接近」可摺疊螢幕手機的產品莫過於「Surface Duo」了,但實質上它是一款「雙螢幕手機」,等於是一款有兩片螢幕、中間使用鉸鏈連結在一起的產品,而且雖然這款產品推出了兩代,但因為產品表現不溫不火,因此並沒有三代款的產品。
你可能會有興趣
- 【FUJI按摩椅評價】五款產品試坐體驗、分析與推薦分享
- 【2025 最新】人體工學椅選購推薦!六大品牌評比一次看!
- 買電競螢幕前先等等!選購攻略看這裡!
- 買前必看!大型按摩椅選購/推薦/體驗心得深入解析
- 大家都在用的 Surfshark VPN 下殺 12 折!再送 4 個月免費訂閱!
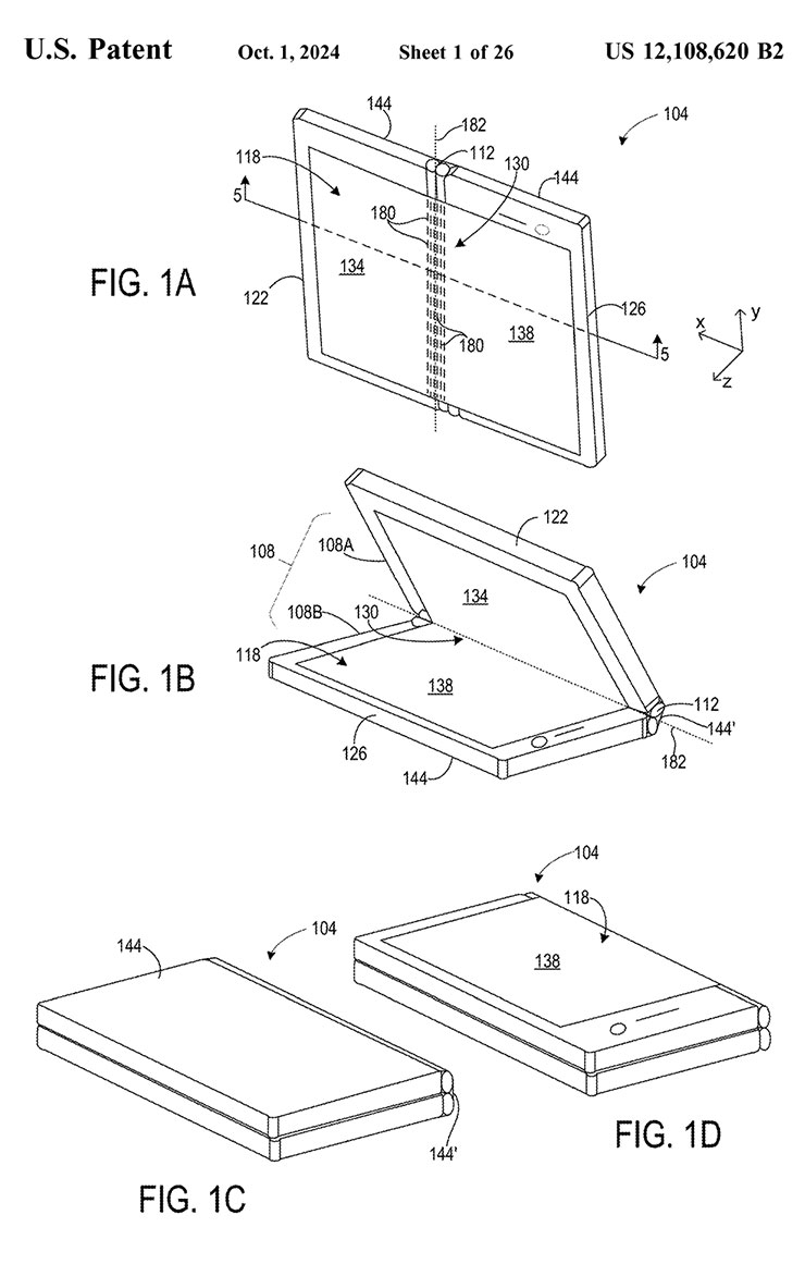
在報導中也提到,微軟在 2021 年的 2 月就經向美國專利商標局(USPTO)提出一項專利申請,並在今年 10/1 正式獲得專利授權,專利內容正是「帶有背板插槽的可摺疊顯示器設計」,文件內也有多個類似三星 Galaxy Z Fold6 的圖片。
專利亮點:可同時向內、向外的螢幕摺疊設計
而這項微軟的專利設計,和過往我們看到「書本式」可摺疊螢幕手機比較大的差異,就是手機本體可以「向內」或是「向外」進行摺疊,因此可以將手機大小的畫面展開成為平板電腦的尺寸,也能透過不同的摺疊形式,採用帶虛擬 QWERTY 鍵盤的筆記型電腦,或是其他的使用形式。

微軟也找到「去除」摺痕的方法
此外,專利中的柔性顯示器,在玻璃層與後蓋之間還設計有一層發光層,而背板的玻璃層與背板的插槽可以幫助顯示器進行彎曲與摺疊,而這的設計也不會產生摺痕,無論顯示器是完全展開平放、或是維持摺疊狀態。

此外,在專利中,微軟也提到了一種可以消除螢幕摺痕的方法,進一步提升可摺疊螢幕手機的使用體驗,包括「濕蝕刻」和「雷射切刻」等製造技術。
Surface Duo 的經驗,給了微軟靈感?
就如同前面提到,微軟先前曾經有打造過 Surface Duo 這款「雙螢幕手機」的經驗,而這款手機也是能夠「向外」或「向內」摺疊的設計,提供了多種不同類型的使用形態,而微軟運用了這樣的設計經驗,並運用在可摺疊螢幕領域上,或許能夠帶來讓人耳目一新的獨特產品。

但比較讓人好奇的是,可摺疊螢幕手機問世之後已經過了六年,摺痕問題依舊是目前未能完決解決的產品短版,微軟是曾真的能夠做到「完全消除」,似乎也成為令人期待的重點之一。
你可能會有興趣
- 【FUJI按摩椅評價】五款產品試坐體驗、分析與推薦分享
- 【2025 最新】人體工學椅選購推薦!六大品牌評比一次看!
- 買電競螢幕前先等等!選購攻略看這裡!
- 買前必看!大型按摩椅選購/推薦/體驗心得深入解析
- 大家都在用的 Surfshark VPN 下殺 12 折!再送 4 個月免費訂閱!
相關連結:
The Return of Microsoft to Foldables: What We Know So Far – Gizchina.com
Microsoft has figured out a way to eliminate a major problem with foldable phones – PhoneArena
歷史上的這一天,我還寫了…
- 反樸歸真?Sony 推出全新入耳式有線耳機 IER-EX15C USB-C,即插即用不怕掉! - 2025
- 三星推出 Galaxy SmartTag2,台灣 10 月中上市! - 2023
- 十銓科技全新推出 C222 精鋅碟,打造流線金屬之美! - 2022
- Logitech X 貓貓蟲咖波聯名鍵盤滑鼠,狂掀「憑實力軟爛」熱潮!全新咖波手繪 Pebble M350 聯名無線滑鼠及上蓋超可愛! - 2021
- 振興熱起來!LINE 熱點加碼 LINE POINTS 200 萬點~攜手三縣市整合全面振興攻略! - 2021
- 入門級手機也有強悍夜拍能力?Google Camera Go 應用將為低價 Android Go 機種加入夜視模式與 HDR 功能! - 2020
- 三星已釋出 Galaxy S20 系列 One UI 3.0 + Android 11 升級 Open Beta 版 - 2020
- 三星原廠 45W 快充組 EP-TA845 開箱實測!Note10+ 真的跑得到 45W 輸出嗎? - 2019
- 專為寵物族量身打造?遠傳「日本漫遊旅遊包」一包三享:漫遊上網吃到飽、機場接送與寵物旅館優惠! - 2019
- [Unbox] 速度更快的外接 SSD 解決方案:伽利略 M.2(NVMe)DigiFusion PCIe SSD 外接盒開箱! - 2018












無留言