毫無疑問,在可摺疊螢幕手機這一個領域中,三星電子可以說是其中的先行者與領導者,目前推出的相關產品數量與銷售也是最多,不過柔性螢幕手機的可能性除了摺疊,還有另一種已經有許多技術展示的「捲軸式」螢幕,包括 LG、三星、oppo 都有類型的測試機出現。根據外媒 MySmartPrice 的報導指出,世界知識產權組織 WIPO 已公開了三星一款「捲軸式顯示螢幕手機」的專利內容,看起來未來三星也可能朝向這個技術領域推出新產品。
你可能對這個有興趣…
- 買 3C 到蝦皮,選擇更多價格更優!
- 辦公軟體全場最便宜 4 折起!Office、作業系統限時特殺最低價!
- 正夯小米手環6這裡買更便宜,再送保護貼喲!
- 大朋友、小朋友買玩具來這裡!熱門商品一次買到!
- 高速穩定、自由翻牆:Ivacy VPN 獨家超高折扣只有這裡
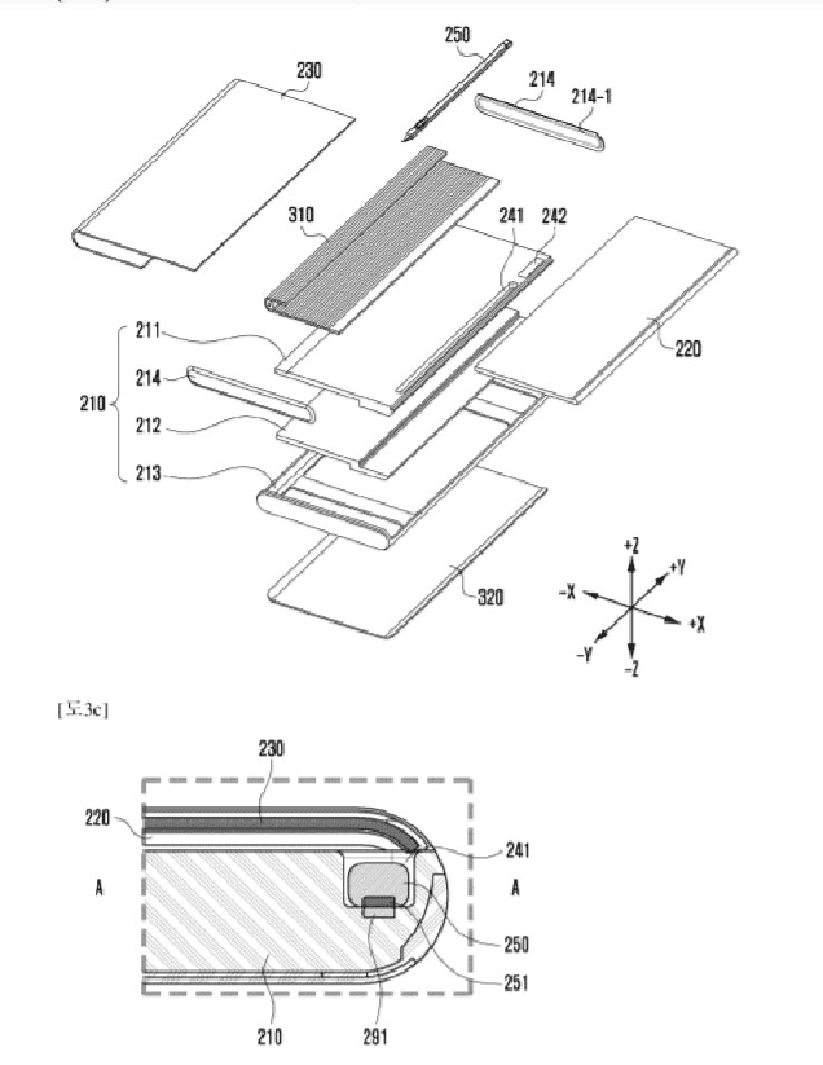
從專利內容可以發現到,這款設備有兩組外殼,其中左側為可捲曲式顯示器滑出與滑入的電機裝置,而另一部份面板則為 S PEN 保留有額外的開口,且筆槽上方似乎還設置有前鏡頭。




在專利說明圖可發現,設備右側邊緣將用作顯示通知或是打開應用程式的微型顯示器,讓用戶可以根據自己的喜好來快速啟動應用程式,感覺有點像是三星過去的單曲面螢幕手機 Galaxy Note Edge。至於機身的左側就會依照使用需求可滑出捲軸式顯示器,為使用者帶來更大的使用空間。


![捲軸螢幕也是未來選項?三星捲軸螢幕 + S PEN 的新專利曝光! - 阿祥的網路筆記本 [Mobile] 在曲面側螢幕用S Pen塗寫?三星舊有專利預告Galaxy Note Edge 2出現的可能性?](https://axiang.cc/wp-content/uploads/20160619105027_19.jpg)
圖:三星的 Galaxy Note Edge。
目前這款設備的細部功能仍未知,而先前三星也曾經展示過雙摺疊、三摺疊甚至捲動螢幕機制的顯示器,專利類型與數量非常多,也因此不見得這個專利將會真正成為商業販售的產品,但若是三星真的朝向這個方向發展,應該會相當有趣。

看看其他三星的柔性螢幕專利
- 螢幕該摺疊還是捲軸?三星新專利直接二合一,玩法多更多?
- 三摺疊、可前後凹摺的 Galaxy Z Fold Tab 專利曝光~展現平板電腦的未來樣貌!
- 對摺又對摺,三星新專利顯示 Galaxy Z Fold3 有雙摺疊螢幕與滑動式副螢幕鍵盤?
- 三星新專利揭露「Galaxy Z Dual Fold」雙摺疊螢幕手機!看起來實用性更高了!
- 向前摺,也能向後摺?三星註冊全新「前後雙摺疊」螢幕手機專利,會帶來什麼新應用?
- 三星又有新摺疊專利:Galaxy Z 系列真要實現非對稱式的「Z」字摺疊設計了?
你可能對這個有興趣…
- 買 3C 到蝦皮,選擇更多價格更優!
- 辦公軟體全場最便宜 4 折起!Office、作業系統限時特殺最低價!
- 正夯小米手環6這裡買更便宜,再送保護貼喲!
- 大朋友、小朋友買玩具來這裡!熱門商品一次買到!
- 高速穩定、自由翻牆:Ivacy VPN 獨家超高折扣只有這裡
相關連結:
歷史上的這一天,我還寫了…
- 三星 AI 旗艦 Galaxy S25 系列預購開跑!指定通路最高贈 6,000!還有智慧家電加購最高現折 15,000! - 2025
- 三星三摺疊螢幕手機將以 Galaxy G Fold 為名? - 2025
- 未來三星 Galaxy S 與 Galaxy Z 系列仍將繼續採用高通 Snapdragon 系列 SoC - 2024
- 十年後的智慧生活是什麼樣貌?「愛立信 2030 年十大消費者趨勢」鐵口直斷「智慧連網裝置」將成為人們生活中的必需品! - 2021
- 三星 Galaxy S20 系列相機將內建「Quick Take」功能,按下快門可同步多鏡頭拍照,能解決大家拍照的問題? - 2020
- WOWSTICK 1F+ 69合一電動螺絲刀開箱:功能涵蓋日常需求的 DIY 利器,細膩質感更讓人愛不釋手! - 2020
- [Unbox] 不只圍爐必備!煎煮炒炸甚至舒肥都精通的「米家電磁爐」+「知吾煮湯鍋」開箱分享! - 2019
- [Unbox] 人工智慧加持,HUAWEI Mate 10 進化版徠卡雙鏡頭讓你輕鬆拍出傑作,高屏佔比、大電量與強大EMUI 8.0 讓功能更全面! - 2018
- [App] 第一次到Google Play買電子書就上手!新春限時優惠立馬省新台幣188元! - 2017
- [App] 更美好的閱讀體驗:電腦、手機、平板都好讀的電子雜誌平台「Kono」! - 2016











![[Mobile] LG G5成為2016年智慧型手機創新最大贏家?從功能面來分析這支手機是否會成功! [Mobile] LG G5成為2016年智慧型手機創新最大贏家?從功能面來分析這支手機是否會成功!](https://i1.wp.com/axiang.cc/wp-content/uploads/2016-02-28-223645-70.jpg?resize=232%2C155&quality=90&zoom=2)

無留言