今年三星的高階旗艦級手機除了傳統「二本柱」的 Galaxy S20 系列與 Galaxy Note20 系列之外,可摺疊螢幕手機也加入了 Galaxy Z 系列的 Galaxy Z Flip 與 Galaxy Z Fold2,足以見得可摺疊螢幕手機已經成為三星持續發展的重點機種。而且今年的 Galaxy Z Fold2 5G 顯而易見的展現了比過去更強大的設計,包括封面與內頁螢幕皆升級尺寸舉規格,同時也是全螢幕設計。
你可能對這個有興趣…
- 辦公軟體全場最便宜 4 折起!Office、作業系統限時特殺最低價!
- 不出門也能買菜!新會員還有首購禮!
- 無綁約、無受限的電信選擇-無框行動,申辦就有機會獲得 7-11 $600 禮券
- 高速穩定、自由翻牆:Ivacy VPN 獨家超高折扣只有這裡
不過也因為今年的 Galaxy Z Fold2 5G 已經夠完美了,也讓人開始想像下一代的 Galaxy Z Fold3 還會有什麼「新梗」能讓大家耳目一新呢?

根據國外媒體 LetGoDigital 的報導指出,除了封面螢幕與可摺疊的內螢幕之外,Galaxy Z Fold3 的新設計可能會在螢幕鉸鏈處的外殼上再多加一個「燈光指示器(Light Indicator)」,以作為客外的提示之用。
隱藏鏈中加入指示燈的設計
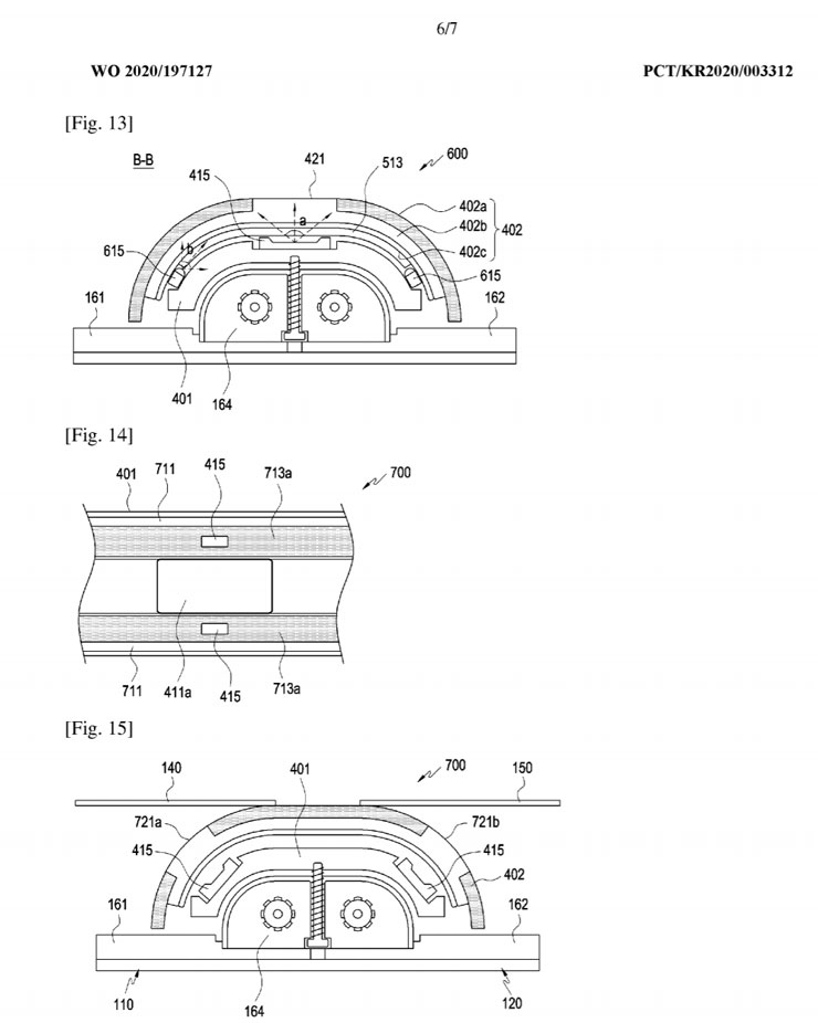
根據報導指出,三星在 2019 年 3 月向世界知識產權局(WIPO)所申請的「帶指示器的電子設備」新型實用專利一案已獲凖通過,並於 2020 年 10 月 1 日正式發表。

在專利文件中,可以看到三星使用了 Galaxy Z Fold 一代的外型作為示意,從專利說明中可以看到一組發光元件被安置於隱藏式鉸鏈中,它是一個帶有多個 LED 的燈條,並帶有半透明設計的上蓋,以確保光模組可以不受外部影響的保護,並裁光不同顏色的光線,結合了裝置效果,同時也能將不南司色光混合在一起。

至於這一組指示燈有什麼作用呢?最主要的功能還是在於新的訊息通知或來電的提示,當使用者開啟手機靜音或將振動功能關閉時,就能透過 LED 指示燈來作為提示。此外,若使用者將手機背朝上置放或在包包時,就無法直接看到封面螢幕的訊息,而這時候就可透過額外的燈光來作為提示,讓你不會錯過重要的來電或訊息。
三星可摺疊螢幕手機的未來
目前在市場上,三星可摺疊螢幕手機的表現可說是沒有任何對手,目前也是唯一發佈多達三款機種、兩種不同設計機型的廠商,因此可以預期三星未來將對於這一塊市場更為積極,未來除了手機本身的設計,是否加入其他新的要素也是大家所關注的-像是有沒有可能將 Galaxy Note 系列的 S Pen 導入到可摺疊機種的大螢幕上,也是一種可能性。

依據過去三星的產品發表時程,明年 2 月三星的 Galaxy S21(S30)系列發表的同時,應該也會是 Galaxy Z Flip2 同步推出的時刻,至於這類型手機還會為大家帶來哪些驚喜呢?這或許值得再好好期待一番了!

更多關於三可摺疊螢幕手機的報導
- 一手掌握未來科技!三星 GALAXY Z FOLD2 5G 深度體驗心得分享~同場加映 GALAZY Z 星鑽尊榮服務體驗!
- 三星 GALAXY Z FOLD2 5G 星霧金版純開箱,實機初次見面,香噴噴嗎?
- 市場制霸?三星今年在可摺疊螢幕手機市場份額將達到 80% 以上!
- 三星奢華旗艦GALAXY Z FOLD2 5G 上市,同場再推 GALAXY WATCH 3 鈦金黑款式與 LTE 版本!
- 三星 GALAXY Z FOLD2 正式發表:創造改變未來形態的智慧型手機!
- GALAXY NOTE20 系列正式發表,GALAXY Z FOLD 2、GALAXY BUDS LIVE 與 GALAXY WATCH 3 與 GALAXY TAB S7 系列同步亮相!
- 三星新專利看出未來 GALAXY NOTE「可摺疊版」的發展?可自動化鎖定的 S PEN 新設計,以及消除螢幕摺痕的秘密武器來了!
- 三星 GALAXY Z FLIP 今日展開預購,台灣 2/21 限量上市,實機功能如何?搶動手玩玩看!
- GALAXY Z FLIP 只是「可摺疊螢幕手機」的開端?之後還有 Z FOLD 和 Z NOTE?
你可能對這個有興趣…
- 辦公軟體全場最便宜 4 折起!Office、作業系統限時特殺最低價!
- 不出門也能買菜!新會員還有首購禮!
- 無綁約、無受限的電信選擇-無框行動,申辦就有機會獲得 7-11 $600 禮券
- 高速穩定、自由翻牆:Ivacy VPN 獨家超高折扣只有這裡
相關連結:
Samsung Galaxy Z Fold 3 krijgt mogelijk indicator in scharnier | LetsGoDigital
三星可摺疊螢幕手機燈光指示器專利
歷史上的這一天,我還寫了…
- 蘋果摺疊機 iPhone Fold 會成功嗎?不可忽視這 5 大關鍵! - 2025
- T-FORCE XTREEM CKD DDR5 正式登台,帶來Intel Z890 平台極限超頻新體驗 - 2024
- iPhone 成為美國青少年最愛手機,市佔率 87%,未來回購率 88% - 2023
- 三星 Galaxy Z Fold4 與 Z Flip4 的獨特廣告吸引眼球!來看看全球有哪些創意! - 2022
- 體驗佳、高泛用性與易入手兼具:arpara 真 5K / VR 頭戴顯示器開箱與使用心得! - 2021
- 除了賣廣告與付費訂閱,YouTube 最新的獲利模式會是變成「電商平台」? - 2020
- Kingston 2019 上半年固態硬碟出貨量達1330萬片,位列全球第三! - 2019
- [Mobile] 全球首款內建四鏡頭手機 Samsung Galaxy A9 正式發表,三鏡頭手機 Galaxy A7 將於11月初於台灣上市! - 2018
- [Unbox] 影音饗宴,隨時開演!新一代三星 Galaxy Tab S4 兼顧娛樂享受與工作生產力! - 2018
- [Video] 愛你的家,以及我們的家!3分鐘影片告訴你,緣色能源發展為何迫在眉睫! - 2017













無留言