可摺疊螢幕手機自去年起開始在市場上慢慢成為消費者的焦點,包括三星、華為與 Moto 這些品牌都有推出相關產品,而中國品牌如小米、oppo 也在去年發表過相關的概念機-其中 oppo 發佈的概念機相當巧合地與華為的 HUAWEI Mate X 系列有些相似,均為螢幕朝外翻摺的設計。
你可能對這個有興趣…
- 辦公軟體全場 5 折起!Office、作業系統全年最低價!
- 不出門也能買菜!新會員還有首購禮!
- 無綁約、無受限的電信選擇-無框行動,申辦就有機會獲得 7-11 $600 禮券
- 高速穩定、自由翻牆:Ivacy VPN 獨家超高折扣只有這裡

圖:oppo 在去年 MWC19 上發佈的可摺疊螢幕手機原型。
不過目前真正有將可摺疊螢幕設計付諸於商業化的品牌仍舊只是少數,但這樣的趨勢看起來應該會是未來發展的主流,而國外媒體 LetsGoDigital 近期也揭露了 oppo 的全新可摺疊螢幕手機的新專利,形式上比較像是 Motorola 的 Razr 與三星的 Galaxy Z Flip,是體積更小但展開後同樣擁有大螢幕的設計,有點像是過往功能型手機「翻蓋機」的可摺疊螢幕版。


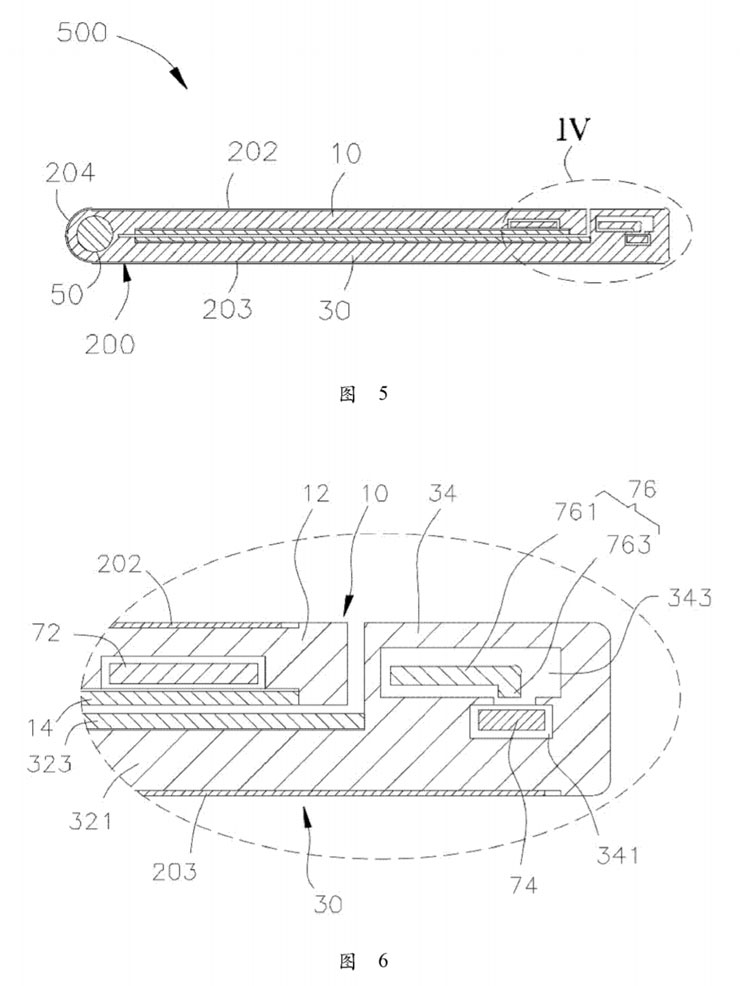
oppo 的專利是在 2020 年 1 月向世界知識產權局(WIPO)所申請,並於同年 7 月 30 日通過,從專利文件中可以看出,這是一款外型相當緊湊的產品,且螢幕為向外設計,摺疊時有一半的螢幕區塊可使用(正方型),展開後則是兩倍大小。

手機本身沒有前鏡頭,而是共用一組三鏡頭主攝,自拍時也能利用摺疊時的半面螢幕作為預覽。另外在機身上則透過磁鐵與機身頂部的另一組磁碟與霍爾傳感器相互搭配作為螢幕摺疊偵測的判定方式,來自動調整不同的使用者介面。


不過在專利中並沒有看到螢幕尺寸大小的描述,但從圖片中可約略判大小為 7 吋左右。另外在專利文件中也提到這手機也配置了指紋辨識器與虹膜辨識功能,但並未說明相關功能整合在哪裡。


整體來看,oppo 的這款可摺疊螢幕手機最大的優勢就是摺疊後更小的體積、展開螢幕後則有與一般直立式智慧型手機相同的使用性,但由於螢幕面朝外,因此螢幕如何保護也是一大問題,而這也是目前可摺疊手機的一大硬傷。


至於 oppo 的第一款可摺疊智慧型手機,會再時出現呢?由於疫情,一切都還是未知,但近期的 IFA 2020 與之後的 CES 2021、MWC 2021 是否有新資訊,可能讓大家再期待一下!
你可能對這個有興趣…
- 辦公軟體全場 5 折起!Office、作業系統全年最低價!
- 不出門也能買菜!新會員還有首購禮!
- 無綁約、無受限的電信選擇-無框行動,申辦就有機會獲得 7-11 $600 禮券
- 高速穩定、自由翻牆:Ivacy VPN 獨家超高折扣只有這裡
相關連結:
Opvouwbare Oppo telefoon met display aan de buitenzijde | LetsGoDigital
oppo 專利文件
歷史上的這一天,我還寫了…
- 十銓科技發表 T-CREATE EXPERT P34F 可定位外接式固態硬碟,支援蘋果尋找功能 - 2025
- 三星用 Galaxy AI 打造「Chill 星人 三星創意市集」華山、草悟廣場接力登場! - 2024
- 三星將為 iPhone 16 打造「微透鏡陣列 OLED」面板,亮度更高、耗電更少! - 2023
- 小米迎中秋!一連七天近百款給優惠!全新 Redmi Buds 4、Xiaomi 智慧彩光燈帶新品上線! - 2022
- 2 億畫素時代來臨!三星 ISOCELL HP1 正式發表,還有超薄型 5000 萬畫素規格的 ISOCELL GN5! - 2021
- 商務主流旗艦 ThinkPad T15 深度評測:硬體規格全面翻新,功能應用更為升級! - 2020
- [Mobile] 三星 Galaxy A90 5G 全新發表,中階定位、旗艦規格,專為直播時代而生! - 2019
- [Unbox] 輕巧易攜,畫質優異的 E-INK 大螢幕電子書閱讀器 Kobo aura ONE 開箱與使用心得分享! - 2018
- [Mobile] 遠傳全台 800店都能買到 Gogoro!最新車款 3萬有找,再加送一年期意外險! - 2018
- [Mobile] Galaxy Note8 Bixby Vision 全新AR功能,搜景點更即時、更直覺! - 2017










![[Tablet] 左打iPad Pro,右打Surface?三星於CES 2016推出Windows 10平板Galaxy TabPro S! - 阿祥的網路筆記本 [Tablet] 左打iPad Pro,右打Surface?三星於CES 2016推出Windows 10平板Galaxy TabPro S! - 阿祥的網路筆記本](https://axiang.cc/wp-content/uploads/2020-08-09-180833-16.jpg)


無留言