![[Mobile] 真.全面屏手機要來了?三星取得「全螢幕電子感應器」技術專利,實現更多螢幕下感測功能! - 阿祥的網路筆記本 [Mobile] 真.全面屏手機要來了?三星取得「全螢幕電子感應器」技術專利,實現更多螢幕下感測功能! - 阿祥的網路筆記本](https://axiang.cc/wp-content/uploads/2014/q3/20180209231709_59.jpg)
圖:三星的新專利,似乎讓我們又離真正的「全螢幕」手機更近了一步(圖片來源:三星專利文件)!
從 2016 年開始,市場上陸續出現了所謂「全面屏(全螢幕)」設計概念的手機,也帶動了市場上各家品牌紛紛走向這樣設計理念的風潮。之所以「全面屏」設計會受到大家關注,主要的原因還是這樣的設計風格符合了使用者的喜好-視覺效果更好的大螢幕,但卻能讓手機機身更為緊湊、窄小。
![[Mobile] 真.全面屏手機要來了?三星取得「全螢幕電子感應器」技術專利,實現更多螢幕下感測功能! - 阿祥的網路筆記本 [Mobile] 真.全面屏手機要來了?三星取得「全螢幕電子感應器」技術專利,實現更多螢幕下感測功能! - 阿祥的網路筆記本](https://axiang.cc/wp-content/uploads/2014/q3/20180209232706_35.jpg)
圖:在小米Mix2 的發表會上,小米總裁雷軍用了一張惡搞漫畫說明了目前主流的三種全螢幕設計風格。
不過受限於目前手機機身正面仍然需要置放相當多的感測器元件,因此還沒有廠商能做到機身正面「屏佔比 100%」的手機,目前大多數都是採「非異形全螢幕」與「異形全螢幕」兩種方式,透過螢幕比例拉長,或是透過螢幕面板的異形切割留下感測器的區塊;除此之外,另一個全螢幕設計手機最大的問題就是「指紋辨識器後置」讓使用者覺得不便的情況。
![[Mobile] 真.全面屏手機要來了?三星取得「全螢幕電子感應器」技術專利,實現更多螢幕下感測功能! - 阿祥的網路筆記本 [Mobile] 真.全面屏手機要來了?三星取得「全螢幕電子感應器」技術專利,實現更多螢幕下感測功能! - 阿祥的網路筆記本](https://axiang.cc/wp-content/uploads/2014/q3/20180209231713_9.jpg)
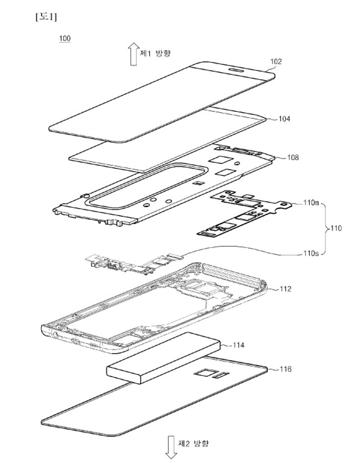
圖:三星「全螢幕電子感應器」專利的拆解圖(圖片來源:三星專利文件)。
不過目前 Vivo 已經解決了指紋辨識後置的問題,他們與 Synaptics 合作的螢幕下指紋辨識感應器「Clear ID」已經導入商業應用,可讓全螢幕設計的手機,在螢幕正面即可置放手指進行指紋辨識。但到底什麼時候我們才有機會看到螢幕佔比達 100% 的「真.全面屏」手機呢?或許這個等待的時間不會太久!最近國外媒體 LetsGoDigital 就揭露了三星在去年向世界知識產權組織 WIPO 所提交申請的「全螢幕電子感應器」的專利。
![[Mobile] 真.全面屏手機要來了?三星取得「全螢幕電子感應器」技術專利,實現更多螢幕下感測功能! - 阿祥的網路筆記本 [Mobile] 真.全面屏手機要來了?三星取得「全螢幕電子感應器」技術專利,實現更多螢幕下感測功能! - 阿祥的網路筆記本](https://axiang.cc/wp-content/uploads/2014/q3/20180209231715_100.jpg)
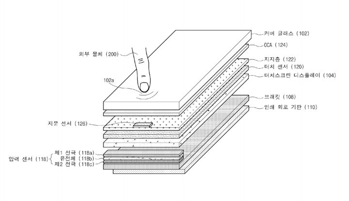
圖:觸控螢幕下有非常多層次的設計(圖片來源:三星專利文件)。
這項專利的內容,從專利文件中的圖解可以看到一個機身正面「全螢幕」設計的智慧型手機,直接將指紋辨識器與導航列按鈕整合至螢幕下方,讓使用者除了可直接在螢幕特定區域置放手指進行指紋辨識,更能透過按壓螢幕不同的力度,來觸發不同的功能,除了基本的主頁、返回與最近使用程式頁面,也能觸發 Google 智慧助理…等功能。
![[Mobile] 真.全面屏手機要來了?三星取得「全螢幕電子感應器」技術專利,實現更多螢幕下感測功能! - 阿祥的網路筆記本 [Mobile] 真.全面屏手機要來了?三星取得「全螢幕電子感應器」技術專利,實現更多螢幕下感測功能! - 阿祥的網路筆記本](https://axiang.cc/wp-content/uploads/2014/q3/20180209231716_30.jpg)
圖:從專利文件中可看出這款手機的設計是完全的無框設計,而導航列的功能鈕也是隱藏於螢幕下方(圖片來源:三星專利文件)。
![[Mobile] 真.全面屏手機要來了?三星取得「全螢幕電子感應器」技術專利,實現更多螢幕下感測功能! - 阿祥的網路筆記本 [Mobile] 真.全面屏手機要來了?三星取得「全螢幕電子感應器」技術專利,實現更多螢幕下感測功能! - 阿祥的網路筆記本](https://axiang.cc/wp-content/uploads/2014/q3/20180209231718_63.jpg)
圖:透過手指不同壓力按壓,在同一個應用程式圖上,能觸發不同功能,上圖是影片播放的介面,輕壓為播放、中壓為暫停、重壓則為返回(圖片來源:三星專利文件)。
![[Mobile] 真.全面屏手機要來了?三星取得「全螢幕電子感應器」技術專利,實現更多螢幕下感測功能! - 阿祥的網路筆記本 [Mobile] 真.全面屏手機要來了?三星取得「全螢幕電子感應器」技術專利,實現更多螢幕下感測功能! - 阿祥的網路筆記本](https://axiang.cc/wp-content/uploads/2014/q3/20180209231719_59.jpg)
圖:同樣的主頁鈕也能利用不同按壓力度觸發不同功能(圖片來源:三星專利文件)。
不過即將發表的 Galaxy S9 應該是來不及採用這樣的技術了,但或許我們可以期待今年下半年的 Galaxy Note9,或是明年的 Galaxy S10(或是 Galaxy X?)能夠有更多的突破,畢竟目前能將「一整片完整螢幕」的手機握在手上,還只是個夢想。
![[Mobile] 真.全面屏手機要來了?三星取得「全螢幕電子感應器」技術專利,實現更多螢幕下感測功能! - 阿祥的網路筆記本 [Mobile] 真.全面屏手機要來了?三星取得「全螢幕電子感應器」技術專利,實現更多螢幕下感測功能! - 阿祥的網路筆記本](https://axiang.cc/wp-content/uploads/2014/q3/20180209231720_36.jpg)
圖:除了導航鈕,這個專利也整合了螢幕下指紋辨識的功能(圖片來源:三星專利文件)。
相關連結:
Samsung Galaxy full screen smartphone in beeld | LetsGoDigital
Radical Galaxy Smartphone Uncovered In New Samsung Leak
samsung-full-front-smartphone 專利文件(韓文)
歷史上的這一天,我還寫了…
- 市調統計顯示:蘋果 iPhone 16 系列仍是 2024 年全球最暢銷手機 - 2025
- LINE Bank 熊大兔兔首度現身高雄輕軌!走春打卡最吸睛! - 2024
- 十銓科技 TEAMGROUP C222 精鋅碟開箱:顏值先決,打造數位時尚潮流! - 2023
- 三星 Galaxy Unpacked 小禮盒先開箱!虎年主題超應景,滿滿驚喜讓人超期待! - 2022
- 手感一流,指紋解鎖超犀利!ZEELOT 滿版玻璃保護貼 for 三星 Galaxy S21 全系列開箱與使用心得分享! - 2021
- 台灣行動支付準備起飛?初探台灣市場大環境的困境與展望! - 2020
- 三星新一代真無線藍牙耳機 Galaxy Buds+ 實機開箱影片提前曝光!更大的電池續航,並能與 iOS 裝置相容! - 2020
- [Mobile] 新的 Galaxy Note 系列「筆更厲害」?三星新專利揭露 S Pen 將變身光學變焦相機! - 2019
- 三星手機如何「無線投影」到電視?詳細操作教學帶你輕鬆上手! - 2017
- [Google] 網路安全日宣導,完成「Google帳號安全檢查」就能獲得「Google雲端硬碟」額外2GB永久獎勵! - 2016












![[App] 享受簡潔易用的Android原生系統界面:「Google即時資訊啟動器」實測心得分享! [App] 享受簡潔易用的Android原生系統界面:「Google即時資訊啟動器」實測心得分享!](https://i1.wp.com/axiang.cc/wp-content/uploads/2014-08-03-001558-49.jpg?resize=232%2C155&quality=90&zoom=2)
無留言