相機一直以來就是智慧型手機的重要功能之一,也是許多人選購手機決策時的關鍵功能,而三星的 Galaxy 家族中也有不少智慧型手機中獨有的設計,像是在 Galaxy S9 系列中首度加入的「雙光圈」系統就在廣角主鏡中加入了 F 1.5 / F 2.4 兩種大小不同的光圈,以符合使用者在不同拍攝情境之下的需求,不過比較可惜的是在 Galaxy S20 系列中這個規格也被放棄掉。
你可能對這個有興趣…
- 買 3C 到蝦皮,選擇更多價格更優!
- 辦公軟體全場最便宜 4 折起!Office、作業系統限時特殺最低價!
- 正夯小米手環6這裡買更便宜,再送保護貼喲!
- 大朋友、小朋友買玩具來這裡!熱門商品一次買到!
- 高速穩定、自由翻牆:Ivacy VPN 獨家超高折扣只有這裡
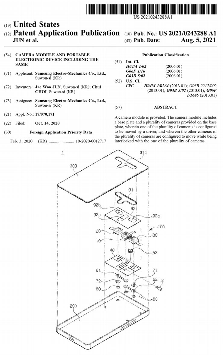
不過根據國外媒體 LetsGoDigital 的報導指出,三星向美國利商標局(USPTO)提交的新專利可以看到「雙光圈」的功能又出現了,而且還帶來了多鏡頭「可變視野」的奇妙設計?

在這份 2021 年 8 月 5 日發佈的新專利中可以看到,目前最常見的廣角、超廣角與長焦三個焦段的多鏡頭相機組合,被加入了獨特的「齒輪系統」,可以讓常見「三鏡頭一排」的鏡頭配置成為「可動式」設計-位於中央的廣角主鏡可做到上下位移,左右兩顆鏡頭則可從左右向中央靠攏,讓不同的拍攝情境下可依需求來調整鏡頭的位置。

圖:專利文件圖。
此外,這個鏡頭可移動式的設計,也連帶會影響鏡頭光圈的大小,在鏡頭移動時也可以一併調整鏡頭的光圈大小,像是拍攝風景時可切換至小光圈,拍攝人像時可切換至光圈。

圖:可移動視角的鏡頭系統,三鏡頭的兩個不同的位置對比。
至於這樣的獨特設計會在何時商品化呢?應該不會太快,可能要等上數年,但也可能完全不會上市,不過還是讓人期待有新的相機技術加入到三星 Galaxy 系列中。

你可能對這個有興趣…
- 買 3C 到蝦皮,選擇更多價格更優!
- 辦公軟體全場最便宜 4 折起!Office、作業系統限時特殺最低價!
- 正夯小米手環6這裡買更便宜,再送保護貼喲!
- 大朋友、小朋友買玩具來這裡!熱門商品一次買到!
- 高速穩定、自由翻牆:Ivacy VPN 獨家超高折扣只有這裡
相關連結:
Samsung Galaxy camera met variabele Field of View (FoV) | LetsGoDigital
三星專利文件
Samsung has a dual-aperture smartphone camera solution in the works – SamMobile
歷史上的這一天,我還寫了…
- Sony 全新極輕巧全片幅定焦隨身旗艦機 RX1R III,掌上尺寸輕巧隨行! - 2025
- DALL-E 3 現已向 ChatGPT 免費用戶開放,不過使用限制有點… - 2024
- 2023 年跑外送還有前途嗎?四個入行前你應該要知道的問題! - 2023
- 展開全新視角!三星 Galaxy Z Fold4 與 Z Flip4 雙機登場~細節升級帶來更完美體驗! - 2022
- moto RAZR 2022 資訊看光光!對標 Galaxy Z Flip4 能一較高低? - 2022
- 小米與中國 ODM 廠商 Wingtech 合作,打造獨特三鏡頭升降機構的繞環屏手機! - 2020
- Galaxy Note20 Ultra 新加入的「UWB」是什麼?三星官方影片詳細說分明! - 2020
- [Mobile] 鴻蒙 OS 橫空出世!2019 華為開發者大會正式登場,全場景分散式作業系統打造智慧生活新體驗,HMS 友善開發者無縫接軌! - 2019
- [Mobile] 為使用者而生的全方位旗艦「Galaxy Note9」正式發表!還有新一代智慧錶 Galaxy Watch 與 Galaxy Home 智慧音箱! - 2018
- [Mobile] Galaxy Note8 將搭載「壓力觸控」功能,將帶來全新應用? - 2017













無留言