![[Rumor] 雙鏡趨勢不可擋!三星Galaxy Note8 雙鏡頭規格有譜? - 阿祥的網路筆記本 [Rumor] 雙鏡趨勢不可擋!三星Galaxy Note8 雙鏡頭規格有譜? - 阿祥的網路筆記本](https://axiang.cc/wp-content/uploads/2014/q3/20170519061508_90.jpg)
圖:網路流傳的Note8外觀的概念設計照,可看見雙鏡頭設計。
在最近幾年,智慧型手機的相機拍攝能力成為消費者最為重視的核心功能之一,除了比拼相機的規格與功能力,為了滿足追求更好的拍攝效果,各家大廠紛紛推出「雙鏡頭」作為自家新手機相機素質提升的利器。除了像LG、華為、小米…等大廠之外,蘋果的iPhone7 Plus也在去年跟進了這項風潮。原本三星今年的旗艦機Galaxy S8與S8+也被預期可能會採用雙鏡頭規格,但後來實際發表時卻仍然維持單鏡,讓許多媒體與消費者有些失望。
![[Rumor] 雙鏡趨勢不可擋!三星Galaxy Note8 雙鏡頭規格有譜? - 阿祥的網路筆記本 [Rumor] 雙鏡趨勢不可擋!三星Galaxy Note8 雙鏡頭規格有譜? - 阿祥的網路筆記本](https://axiang.cc/wp-content/uploads/2014/q3/20170519061510_92.jpg)
圖:在Galaxy S8與S8+還未發表前,就從中國流出疑似雙鏡頭版本的實機外觀。
不過在下半年,三星即將發表的Galaxy Note8,應該就能看到雙鏡頭規格的出現了!根據韓國媒體「韓國先趨報」的報導指出,三星原本計劃將在Galaxy S8與S8+採用雙鏡頭,但後來因為成本問題而取消,不過這樣的規格將可望在接下來三星的另一款旗艦Note8上看到。
根據業內人士指出,Galaxy Note8 的雙鏡頭將採用與iPhone7 Plus類似的「廣角端 / 望遠端」雙焦段的鏡頭配置,而且望遠端的鏡頭將具備「3倍光學變焦」能力(iPhone7 Plus為2倍光學變焦),而雙鏡頭的感光元件將採用1,200萬畫素廣角鏡頭與1,300萬畫素望遠鏡頭的配置,除了能提供使用者在拍照取景方面的便利性,相信應該也會有更多不同的特色應用功能(例如:阿祥之前曾經報導過的三星專利「不同焦段搭配動態追蹤功能」)
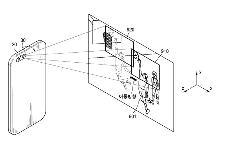
![[Rumor] 雙鏡趨勢不可擋!三星Galaxy Note8 雙鏡頭規格有譜? - 阿祥的網路筆記本 [Rumor] 雙鏡趨勢不可擋!三星Galaxy Note8 雙鏡頭規格有譜? - 阿祥的網路筆記本](https://axiang.cc/wp-content/uploads/2014/q3/20170103204029_52.jpg)
圖:三星在今年一月取得的雙鏡頭「追蹤對焦」專利的圖像,詳情可見此篇文章介紹。
另外馬來西亞的媒體amanz的報導也指出,Note8 可能不會是三星第一款雙鏡頭的手機,另一款即將發表的三星中階系列Galaxy C10 將可望首度搭配雙鏡頭系統,到底三星會端出哪些相機方面的獨特應用呢?就讓我們拭目以待吧!
相關聯結:
Demand for dual camera on phones lifts Samsung, LG
(Ura-Ura) Samsung Galaxy Note 8 Bakal Dilengkapi Dwi-Kamera Dengan Zoom Optikal 3X | Amanz
歷史上的這一天,我還寫了…
- TP-Link 高雄 NOVA 旗艦店盛大開幕,四次元女神趙娟週擔任一日店長陪你體驗最強 Wi-Fi 7 路由器、智慧家庭與商用解決方案 - 2025
- 小心 LINE 上面「萌娃、寵物、幫投票」都可能是詐騙! - 2024
- 不可錯過!夏日電玩展特色搶先看~獲獎桌遊、獨立遊戲新關卡一次玩 - 2023
- POCO F4 GT 電競手機 5/23 啟動早鳥預購,高規 2 萬有找! - 2022
- 三星 Smart Keyboard Trio 500 藍牙鍵盤同時支援電腦、手機與平板,讓你在多平台都有高生產力! - 2021
- 為直播而生!羅技 StreamCam 專業直播攝影機在台上市! - 2020
- 還有這一招!遠傳高空無人機優化 5G 網路!基地台建置一步到位,全面加速開台! - 2020
- [Mobile] Sony 推出防水防塵,多彩繽紛的無線藍牙喇叭 SRS-XB12! - 2019
- [PC] 十銓科技推出專為 AMD 2代 Ryzen 桌上型處理器打造 T-FORCE DARK PRO DDR4-3466 MHz 電競記憶體! - 2018
- [App] 以分享、交流、互動為主軸的Google新服務「Google Spaces」上線了!目標對準臉書社團或是LINE群組功能? - 2016













無留言