![[Mobile] 雙鏡頭還有其他新玩法!三星全新專利整合不同焦段搭配動態追蹤功能,帶來值得期待的實用功能? - 阿祥的網路筆記本 [Mobile] 雙鏡頭還有其他新玩法!三星全新專利整合不同焦段搭配動態追蹤功能,帶來值得期待的實用功能? - 阿祥的網路筆記本](https://axiang.cc/wp-content/uploads/2014/q3/20170103204020_78.jpg)
圖:三星新的雙鏡頭專利示意圖,從畫面可以看到同時顯示了「望遠端」與「廣角端」的畫面。
根據Sammobile的報導指出,三星近期在韓國已經提出了一項搭配「望遠端」與「廣角端」雙鏡頭相機應用的專利,與現有市面上雙鏡頭相機最大的不同是,三星的這項專利可以透過「望遠端」鏡頭的「物件追蹤」功能,來捕捉「廣角端」鏡頭範圍內的任何物體,並透過這個功能來拍攝出主體與背景都準焦的清晰照片,這對於需要拍攝運動中主題的使用者來說,會是相當便利的功能,而且這個功能運作的原理並不難理解,而且效果非常好。
![[Mobile] 雙鏡頭還有其他新玩法!三星全新專利整合不同焦段搭配動態追蹤功能,帶來值得期待的實用功能? - 阿祥的網路筆記本 [Mobile] 雙鏡頭還有其他新玩法!三星全新專利整合不同焦段搭配動態追蹤功能,帶來值得期待的實用功能? - 阿祥的網路筆記本](https://axiang.cc/wp-content/uploads/2014/q3/20170103204021_30.jpg)
圖:從這張專利說明圖可以看出,在畫面上雙鏡頭對應的不同功能,望遠端鏡頭是有追蹤功能。
在三星的這個「雙鏡頭」專利中,廣角鏡頭的作用可以辨識鏡頭範圍中所有被認定為「物體」的東西,像是人、車輛或飛機,並能自動觸發望遠端鏡頭,使用者可以將這些物體設定為拍攝的主體,並即時進行動態追蹤,同時使用者也能隨時調整變焦位置與拍攝的設定,在物件動態的過程中,都能維持準焦狀態。
![[Mobile] 雙鏡頭還有其他新玩法!三星全新專利整合不同焦段搭配動態追蹤功能,帶來值得期待的實用功能? - 阿祥的網路筆記本 [Mobile] 雙鏡頭還有其他新玩法!三星全新專利整合不同焦段搭配動態追蹤功能,帶來值得期待的實用功能? - 阿祥的網路筆記本](https://axiang.cc/wp-content/uploads/2014/q3/20170103204024_20.jpg)
圖:從這張圖片可以看出點選畫面上兩個對應鏡頭的子畫面,還可以對調兩個鏡頭的內容。
![[Mobile] 雙鏡頭還有其他新玩法!三星全新專利整合不同焦段搭配動態追蹤功能,帶來值得期待的實用功能? - 阿祥的網路筆記本 [Mobile] 雙鏡頭還有其他新玩法!三星全新專利整合不同焦段搭配動態追蹤功能,帶來值得期待的實用功能? - 阿祥的網路筆記本](https://axiang.cc/wp-content/uploads/2014/q3/20170103204025_68.jpg)
圖:這張圖還標示了三個軸線的對應畫面,看起來是還對應了手機的動態偵測功能?
而這個功能也能應用在人像拍攝模式上,就如同蘋果的iPhone7 Plus上的人像模式,使用者將可以輕易地拍攝出主題清晰、背景模糊效果的照片,更加突顯畫面中的主角,也能帶來更好的藝術效果。不過目前這項專利還未被證實將會應用在哪些手機上,或許即將發售的Galaxy S8還蠻有機會用上這個功能的,但實際上這個專利只不過是在謠言傳遞的階段,或許我們需要等更久也不一定吧?
但無論無何,看起來這個功能還蠻酷炫的,而且目前似乎還沒有類似的應用方式?在實用性方面,應該蠻值得期待!
![[Mobile] 雙鏡頭還有其他新玩法!三星全新專利整合不同焦段搭配動態追蹤功能,帶來值得期待的實用功能? - 阿祥的網路筆記本 [Mobile] 雙鏡頭還有其他新玩法!三星全新專利整合不同焦段搭配動態追蹤功能,帶來值得期待的實用功能? - 阿祥的網路筆記本](https://axiang.cc/wp-content/uploads/2014/q3/20170103204027_24.jpg)
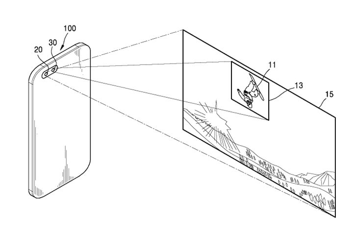
圖:另一個專利功能的示意圖 顯示了望遠端與廣角端不同的取景範圍。
![[Mobile] 雙鏡頭還有其他新玩法!三星全新專利整合不同焦段搭配動態追蹤功能,帶來值得期待的實用功能? - 阿祥的網路筆記本 [Mobile] 雙鏡頭還有其他新玩法!三星全新專利整合不同焦段搭配動態追蹤功能,帶來值得期待的實用功能? - 阿祥的網路筆記本](https://axiang.cc/wp-content/uploads/2014/q3/20170103204029_5.jpg)
圖:廣角端鏡頭可以偵測出畫面上的各個不同的物件。
![[Mobile] 雙鏡頭還有其他新玩法!三星全新專利整合不同焦段搭配動態追蹤功能,帶來值得期待的實用功能? - 阿祥的網路筆記本 [Mobile] 雙鏡頭還有其他新玩法!三星全新專利整合不同焦段搭配動態追蹤功能,帶來值得期待的實用功能? - 阿祥的網路筆記本](https://axiang.cc/wp-content/uploads/2014/q3/20170103204029_52.jpg)
圖:另一個雙鏡頭的示意圖,看得出來是在說明追蹤物件對焦的功能。
![[Mobile] 雙鏡頭還有其他新玩法!三星全新專利整合不同焦段搭配動態追蹤功能,帶來值得期待的實用功能? - 阿祥的網路筆記本 [Mobile] 雙鏡頭還有其他新玩法!三星全新專利整合不同焦段搭配動態追蹤功能,帶來值得期待的實用功能? - 阿祥的網路筆記本](https://axiang.cc/wp-content/uploads/2014/q3/20170103204029_83.jpg)
圖:追蹤物件對焦的示意。
相關聯結:
Samsung files patent for innovative dual-lens camera configuration – SamMobile
專利書本文(韓文)
歷史上的這一天,我還寫了…
- 全球首發!MSI 推出 27 吋 4K240Hz 與 QHD500Hz QD-OLED 電競顯示器,CES 2025 霸氣登場! - 2025
- 三星發出 Galaxy Unpacked 2024 邀請函,1/18 2:00 迎接 Galaxy S24 - AI 新旗艦! - 2024
- TeamGroup MP44L M.2 PCIe 4.0 SSD 開箱實測:效能表現符合主流需求,1mm 石墨烯鋁箔散熱貼更強化穩定性! - 2023
- 紓解年前資金壓力! 1 月底前 LINE Bank 申貸並撥款成功,抽現金紅包 10,000 元! - 2022
- 三星藍牙追蹤器「Galaxy SmartTag」已通過 NCC 認證,可能與 S21 系列同步亮相! - 2021
- 遠傳與 Booking.com 異業合作!專屬網頁訂房,住房漫遊上網滿 $300,最高獲得 $1350 電信帳單折抵金! - 2020
- 如何發揮 Galaxy Fold 多工處理的最大效能?七大使用場景告訴你! - 2020
- [Mobile] 可以被列入史冊的手機?曾經是「歷史首見黑科技」的 8 款手機,你看過哪幾支? - 2019
- [Mobile] 三星在台灣推出前置雙鏡頭美拍奇機:Galaxy A8(2018)| A8+(2018)!預計 1/15 全面開賣! - 2018
- [Movie] 老影迷的神作!劇情與演員承先啟後的「橋樑」之作:「星際大戰七部曲:原力覺醒」觀後心得(無雷)! - 2016













無留言