最早發展可摺疊螢幕手機的三星,已經一連推出四代 Galaxy Z 系列產品,而去年的 Galaxy Z Fold4 在 2022 年也獲得不錯的評價,在整體設計方面取得平衡,不過產品也不是完美的,相較於其他品牌的可摺疊螢幕手機,三星所採用的 U 型鉸鏈設計一直都有「螢幕摺痕」較為明顯的問題,不過根據外媒報導,這樣的問題將在 Galaxy Z Fold5 這一代有所改進。
你可能會有興趣
- 【FUJI按摩椅評價】五款產品試坐體驗、分析與推薦分享
- 【2025 最新】人體工學椅選購推薦!六大品牌評比一次看!
- 買電競螢幕前先等等!選購攻略看這裡!
- 買前必看!大型按摩椅選購/推薦/體驗心得深入解析
- 大家都在用的 Surfshark VPN 下殺 12 折!再送 4 個月免費訂閱!
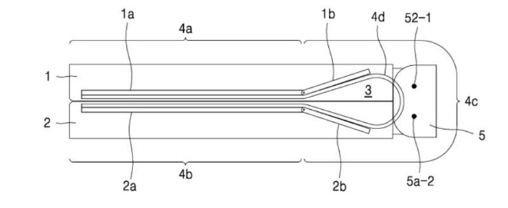
三星將改採「水滴型」鉸鏈,有助於解決摺痕明顯問題
根據外媒體 SamMobile 引述韓國網站 Naver 的報導指出,今年下半年將發表的 Galaxy Z Fold5 可望在一改過去 U 型鉸鏈設計,而改採中國品牌小米、oppo、華為…等品牌採用的「水滴型」鉸鏈設計,透過將曲面彎摺面加寬的方式,來避免長時間凹摺產生較深、較明顯的摺痕,而這的設計三星內部命名為「啞鈴型鉸鏈」。

相對的水滴型鉸鏈因為曲率半徑較小 ,相較於 U 型鉸鏈在摺疊時受到的衝擊(應力」較小,因此耐用度有望再提升。此外,水滴型鉸鏈也能做到柔型螢幕在摺疊時能夠完全疊合,中間沒有任何縫隙,視覺觀感會更為提升。

2016 年三星即取得水滴型鉸鏈專利,但為何前幾年不用?
三星其實早在 2016 年就已獲得並公開了水滴型鉸鏈設計的搰,據了解相關零組件的生產已在進行中,可能會運用在今年的 Galaxy Z Fold5 系列,不過是否也同步使用在 Galaxy Z Flip5 系列上還未知。之所以三星早在五年多前就取得水滴型鉸鏈但不使用的原因,據報導指出可能與「防水」有關,目前市面上的所有可摺疊螢幕手機,僅有三星的 Galaxy Z 系列(Galaxy Z Fold3、Z Flip3 之後)具備 IPX8 的防水能力,或許這會是水滴型鉸鏈設計前幾年未被使用的原因,而時至今日三星才將這項技術用在 Galaxy Z Fold5 上,相必應該是解決了防水問題。

可摺疊螢幕手機依舊會是三星行動通訊部門發展重點之一
三星電子不僅是最早開始發展可摺疊螢幕手機的品牌,同時也是產品迭代次數最多且銷售最多的品牌,根據統計在去年 2020 年三星就出售了近 1000 萬部的可摺疊螢幕手機,雖然整體銷售不若傳統的直立型手機,但未來仍有發展潛力,甚至為此三星也不僅停止了發展十年以上旗艦機 Galaxy Note 系列,為的就是將研發與行銷資源整合。
你可能會有興趣
- 【FUJI按摩椅評價】五款產品試坐體驗、分析與推薦分享
- 【2025 最新】人體工學椅選購推薦!六大品牌評比一次看!
- 買電競螢幕前先等等!選購攻略看這裡!
- 買前必看!大型按摩椅選購/推薦/體驗心得深入解析
- 大家都在用的 Surfshark VPN 下殺 12 折!再送 4 個月免費訂閱!
相關連結:
Galaxy Z Fold 5 could fix huge design flaw with Samsung’s foldables – SamMobile
삼성 차기 폴더블폰, 접은 두면 완전히 맞붙는다
歷史上的這一天,我還寫了…
- 最強 AI 中階機來了!OPPO Reno13 F 即日起開賣- 萬元價位帶最強!全面導入旗艦級生成式 AI 、更是最親民的水中攝影手機! - 2025
- 2024 台北國際電玩展 TGS 將於 1/25 - 1/28 登場! - 2024
- 三星 Galaxy S22 Ultra 出現在 GeekBench 5 效能測試資料庫中! - 2022
- 三星 Galaxy S21 5G 旗艦系列 1/29 全台正式上市!即日起展開預購,售價 NT$ 25,900 起! - 2021
- 三星 Galaxy S21 三款手機詳細規格比一比~同步對比前一代規格讓你輕鬆選! - 2021
- 三星新旗艦 Galaxy S21 系列正式發表!Galaxy Unpacked 2021 三機齊發,全新功能讓每日生活都不平凡! - 2021
- Galaxy Note10 系列更新 OneUI 2.0 + Android 10 後 LINE 通話來電沒顯示?教你如何排除問題! - 2020
- 德國百靈 SensorAir 空氣清淨機在台上市!專利 ifD 技術、環保水洗濾網、雙動淨化機制新年讓你迎接好空氣! - 2020
- [Mobile] 先不論外觀設計,2019 新 iPhone 可能帶來三大技術創新,有你期待的嗎? - 2019
- [Mobile] Android Pay 在台首度支援簽帳金融卡,並新增匯豐銀行信用卡! - 2018













無留言