不斷積極研發創新手機品牌 oppo,同時擁有高 CP 入門機 oppo A 系列、主打創新的 Reno 與高階旗艦 Find 系列,且在產品設計上一直有不少亮點出現,包括多年前就推出可前後翻轉鏡頭、側旋式升降鏡頭等不同的設計,以及捲軸式螢幕概念機 oppo x 2021 的設計也相當新穎,不過最近國外媒體也揭露了 oppo 的最新創舉:把相機鏡頭設計在機身側邊?
你可能對這個有興趣…
- 買 3C 到蝦皮,選擇更多價格更優!
- 辦公軟體全場最便宜 4 折起!Office、作業系統限時特殺最低價!
- 正夯小米手環6這裡買更便宜,再送保護貼喲!
- 大朋友、小朋友買玩具來這裡!熱門商品一次買到!
- 高速穩定、自由翻牆:Ivacy VPN 獨家超高折扣只有這裡
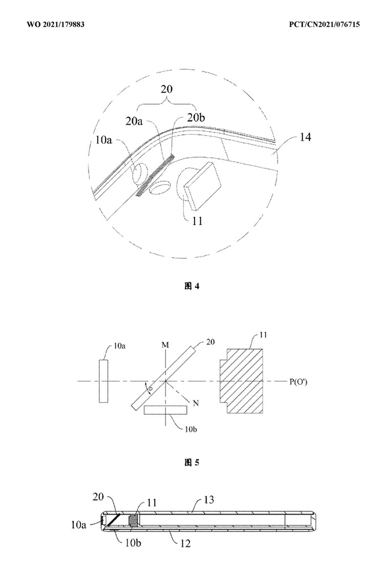
根據國外媒體 LetsGoDigital 的報導指出,oppo 向世界知識產權局(WIPO)申請的新專利在 9/16 正式通過,名為「電子設備與其圖像捕獲方向控制方法」的文件描述了 oppo 計劃將「多向相機鏡頭」整合至智慧型手機中。


過去使用者對於高速移動的主體,在拍攝時較難以快速捕捉,而 oppo 的新專利將機身側面靠近邊角之處開了一個小孔,讓使用者無需移動手機,就能直接從側面進行取景,並透過機身內的反射鏡旋轉角度,來取景拍攝,而這樣的方案也無需再加入新的鏡頭元件,讓成本更為節約。

有趣的是,這並非是 oppo 首次採用可旋轉鏡的設計,今年 2 月就有新專利設計出「雙面彈出式相機」的專利,也同樣使用鏡子達成前後方向拍攝的切換。

不過 oppo 何時會導入這個獨特的「側面鏡頭」設計在手機之中呢?目前還不得而知,不過 oppo 前也著力於影音拍攝功能的提升,像是 oppo Reno 6 Pro 上的「焦點追蹤」功能,就能讓指定對向在錄影時持續保持對焦狀態。
你可能對這個有興趣…
- 買 3C 到蝦皮,選擇更多價格更優!
- 辦公軟體全場最便宜 4 折起!Office、作業系統限時特殺最低價!
- 正夯小米手環6這裡買更便宜,再送保護貼喲!
- 大朋友、小朋友買玩具來這裡!熱門商品一次買到!
- 高速穩定、自由翻牆:Ivacy VPN 獨家超高折扣只有這裡
相關連結:
Oppo Reno smartphone met multi-directional camera | LetsGoDigital
oppo 專利文本
歷史上的這一天,我還寫了…
- 「Logitech G PLAY」電競主題月四款新品登場!電競全周邊一次解鎖! - 2025
- 小米全新 13 款 AIoT 新品齊發!滿足消費者智慧生活全面需求! - 2024
- 十銓科技推出創作者品牌 T-CREATE EXPERT S.M.A.R.T. MicroSDXC 及 TEAMGROUP PRO+ SDXC 二款記憶卡,滿足極端環境記錄需求! - 2023
- 迎戰 iPhone14 新機潮!小豪包膜新竹旗艦店 2.0 新開幕!HAO 5G 果凍貼 + HAO 鏡頭保護圈打造全方位防護! - 2022
- iPhone 13 系列強襲!小豪包膜-逢甲旗艦館 2.0 升級無塵室備戰~最新優惠同步曝光! - 2021
- 三星新一代 SoC 更有看頭?新款 Exynos 1000 將於高通 Snapdragon 875 採相同架構與 5nm 製程,效能有望並駕其驅? - 2020
- 除了相機感光元件,三星發佈了 3D ToF 感測器-ISOCELL Vizion ,會用在明年的 Galaxy S21 上嗎? - 2020
- [Mobile] 就是今晚!HUAWEI Mate30 系列全球發佈會 9/19 台灣時間 20:00 同步直播! - 2019
- hoda 3D UV 膠全貼合玻璃保護貼 + 柔石軍規防摔殼開箱分享!給你的 Galaxy Note10+ 最全面防護解決方案! - 2019
- [Mobile] 遠傳 9/20 開賣 iPhone 11 系列,當日限量 100 名加碼送出 AirPods 2! - 2019












無留言