三星即將在今年發售新款可摺疊螢幕旗艦機 Galaxy Z Fold3 ,而大家也相當好奇這款新機將會有哪些獨特的創新之處,除了一直傳言很久的「螢幕下鏡頭」可能成真,根據 91mobiles 的報導指出,在世界智慧產權局(WIPO)的網站上也發現了三星的新一項「觸控感應式側按鈕」的專案,裡面的示意圖正是一台外型接近 Galaxy Z Fold 的手機,似乎也暗示這樣的技術將可能登上 Galaxy Z Fold3。
你可能對這個有興趣…
- 辦公軟體全場最便宜 4 折起!Office、作業系統限時特殺最低價!
- 不出門也能買菜!新會員還有首購禮!
- 無綁約、無受限的電信選擇-無框行動,申辦就有機會獲得 7-11 $600 禮券
- 高速穩定、自由翻牆:Ivacy VPN 獨家超高折扣只有這裡

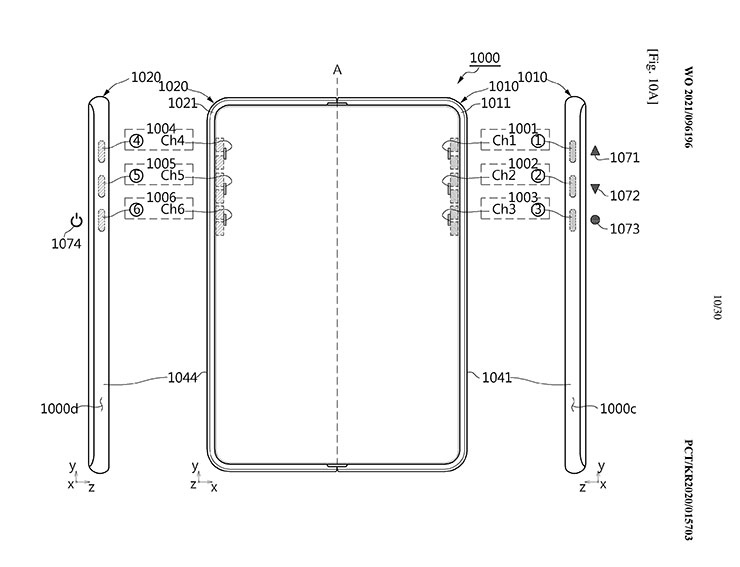
根據專利的描述指出,像是三星 Galaxy Z Fold 這樣的窄長型可摺疊螢幕手機上,實體的按鈕可能不見得會是方便使用的設計,主要原因在於,物理按鍵在按下時的施力,有可能會傷害螢幕摺疊的鉸鏈,也因此這個專利以觸控式的「虛擬按鍵」設計來取代實體,而這也讓可摺疊螢幕手機真正做到外觀上的「無按鈕」。

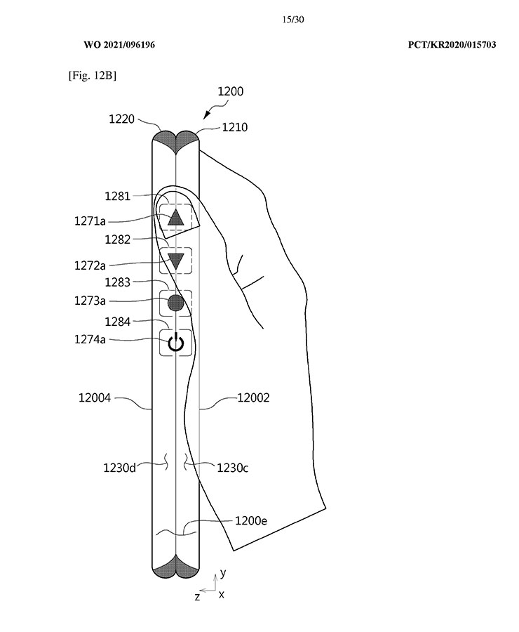
根據專利圖,可摺疊手機在外框上設置有可觸控的按鍵組合(一側有四顆虛擬按鈕),並可利用「手勢」方式來操作,使用者可依照不同組合觸發功能-例如同時按下兩個側邊的指定按鈕實現增加、降低音量,或進行手機的鎖定與解鎖,並支援「輕按」與「滑動」。

除了保護機身結構的理由,三星希望以虛擬按鈕取代實體的另一個原因,就是希望進一步增加手機握持的手感,相較於一般直立式手機按鈕分佈於左右兩側,可摺疊螢幕手機在收合狀態按鈕會集中於一側,按鈕將可能造成握持時的不適,透過虛擬按鈕的設計將可以改善這個問題。

事實上可觸控的機身側面並不是什麼新點子,HTC U11 就已經設計了名為「HTC Edge Sense」的握壓式感應功能,不過外媒 Sammobile 也提到,這樣的設計之所以沒有流行的原因就是相較於實體按鈕靈敏度並沒有這麼準確,也因此三星的這個新專利若是用在 Galaxy Z Fold3 上,能否改善這個問題可以說是值得關注之處。

你可能對這個有興趣…
- 辦公軟體全場最便宜 4 折起!Office、作業系統限時特殺最低價!
- 不出門也能買菜!新會員還有首購禮!
- 無綁約、無受限的電信選擇-無框行動,申辦就有機會獲得 7-11 $600 禮券
- 高速穩定、自由翻牆:Ivacy VPN 獨家超高折扣只有這裡
相關連結:
Samsung Galaxy Z Fold 3 could come with touch-based side buttons, new patent suggests | 91mobiles.com
Galaxy Z Fold design with touch-sensitive side buttons shows up in patent application – SamMobile
歷史上的這一天,我還寫了…
- COMPUTEX 2025:十銓科技著力 AI 運算需求!新產品完整覆蓋電競、創作者與企業應用! - 2025
- 蘋果新專利曝光:可摺疊 iPhone 可能擁有「自我修復螢幕」? - 2024
- 高通 Snapdragon 8 Gen 2「特規版」未來將不限三星獨有,下半年這幾家廠商也將推出! - 2023
- 高通推出遊戲手機專用 Snapdragon 7 Gen 1 處理器,效能升級 20%! - 2022
- 停課潮來襲!遠傳推光纖上網回饋,雙網加掛、一費雙網都優惠! - 2022
- 三星 Galaxy S 系列相機最大進化?Galaxy S20 5G 旗艦系列相機實戰評測!看完就知哪一款最適合你! - 2020
- 十銓科技年中感恩回饋季來了!眾多熱銷品項價格超優,免出門防疫安心購! - 2020
- [Wi-Fi] 大空間收訊最佳化的解決方案:TP-Link Deco P7 實現 Mesh Wi-Fi 搭配電力線網路! - 2019
- [Mobile] Fitbit 推出新機 Fitbit Versa,並在台灣同步開放 Fitbit Pay 支援六大銀行與一卡通! - 2018
- [Mobile] 新一代Android系統「Android O」在小細節升級,強化多工與操作體驗! - 2017











![[Note Life] 為什麼我們需要Evernote?告訴你七個一定不可錯過的應用方式! [Note Life] 為什麼我們需要Evernote?告訴你七個一定不可錯過的應用方式!](https://i2.wp.com/axiang.cc/wp-content/uploads/2015-06-02-051647-62.jpg?resize=232%2C155&quality=90&zoom=2)
無留言