在眾多智慧型手機廠商中,小米可以說是其中最熱衷於各種「黑科技」創新的一個,像是目前已經成為主流的「全螢幕」設計,在多年前就已經在小米 Mix 系列中體現,而近幾年小米也不斷試圖創造出完整螢幕的設計,其中最需要解決的就是「前鏡頭」的問題,目前小米已經有「升降鏡頭」的設計的解決方案,不過其他品牌也有更多類似的設計,像是旋轉升降的 oppo reno 系列,翻蓋式設計的 ASUS Zenfone、三星 Galaxy A80…等,不過近期小米被發現有新專利,可以用新方法讓同一個相機模組兼作一般拍照與自拍使用。
你可能對這個有興趣…
- 辦公軟體全場最便宜 4 折起!Office、作業系統限時特殺最低價!
- 不出門也能買菜!新會員還有首購禮!
- 無綁約、無受限的電信選擇-無框行動,申辦就有機會獲得 7-11 $600 禮券
- 高速穩定、自由翻牆:Ivacy VPN 獨家超高折扣只有這裡
根據國外媒體 LetsGoDigital 的報導指出,小米在 2019 年底就向美國專利商標局 USPTO 申請了手機相機模組的專利,而這份文件也在 2020 年 2 月 18 日正式公開,並納入至世界知識產權組織(WIPO)的資料庫中,成為全球受保護的專利技術之一。

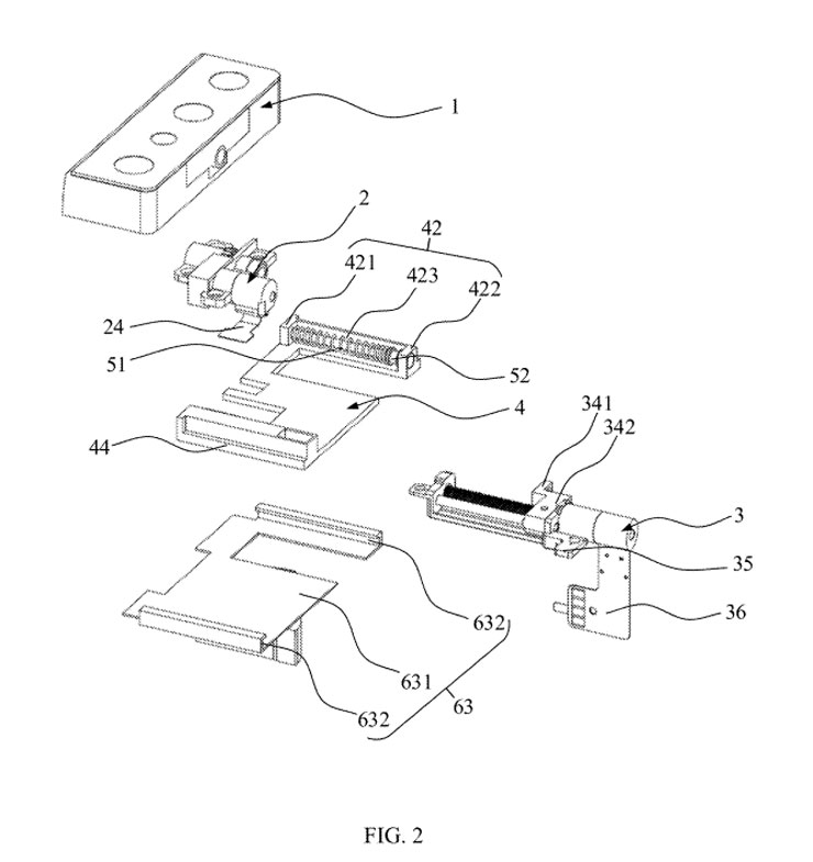
從專利圖中可以發現到,這款手機擁有完整的全螢幕設計,螢幕邊框非常窄,而且機身正面並沒有任何鏡頭,而是採用一組多鏡頭相機模組來滿足使用者一般拍攝與自拍的需求。專利中提到這個模組可適用三鏡頭或四鏡頭的設計,同時也可以整合常見的感測器於其中,而這個模組主要過「升降」與「旋轉」的方式,將相機模組由機身背面切換至機身正面使用。

雖說這個模組的設計在作動時,和「翻轉鏡頭」有點像,但實際上相機模組是「先升起,後旋轉」的,因此只有相機模組本體的移動,而不需要讓機身背面也「挖空」一塊。此外,可旋轉式的設計除了讓自拍效果更好(因為是用主鏡頭來拍攝),也能透過旋轉的方式支援橫向的全景拍攝。

不過目前還不清楚這樣的技術何時會正運用到實際的產品上,但至少在專利設計上,小米是不輸給其他品牌的,也還蠻值得期待的呢!

你可能對這個有興趣…
- 辦公軟體全場最便宜 4 折起!Office、作業系統限時特殺最低價!
- 不出門也能買菜!新會員還有首購禮!
- 無綁約、無受限的電信選擇-無框行動,申辦就有機會獲得 7-11 $600 禮券
- 高速穩定、自由翻牆:Ivacy VPN 獨家超高折扣只有這裡
相關連結:
Xiaomi smartphone met roterende pop-up camera | LetsGoDigital
歷史上的這一天,我還寫了…
- Xiaomi 15 系列震撼登場:影像科技與性能的全面進化 - 2025
- Lenovo 推出新平板 Tab M11,專為教育與娛樂而生 - 2024
- TP-Link Deco X50 為透天大坪宅打造零死角飆網環境!同場再加映全彩夜視戶外攝影機 Tapo C320WS! - 2022
- 遠傳攜手愛立信,黃金頻譜搭配「魚前腹」頻段位置打造 5G 新世代行動網路! - 2020
- 2019 年全球智慧型手機銷量出爐!總銷量三星全球第一,Top 10 排行榜 iPhone 佔居 6 位,iPhone 11 僅四個月累積銷售第二名! - 2020
- Google 第三代 Chromecast 開箱評測:操作同樣簡單,效能提升且支援 Full HD 60fps 影音! - 2019
- [Mobile] Galaxy S9 | S9+ 最好玩的相機功能「虛擬人偶 AR Emoji」動手玩!除了趣味拍照錄影,還有個人化貼圖超吸睛! - 2018
- 滿手3C產品需要充電?居家常備,出外旅遊的良伴:小米插線板(小米延長線)開箱與使用心得分享! - 2017
- 買前必看!7 個 Galaxy S7 與 Galaxy S7 edge 成為倍受期待智慧型手機的理由! - 2016
- [Event] 直擊三星GALAXY S6 & GALAXY S6 Edge 實機!新品搶鮮拍照會活動記實! - 2015













無留言