近一兩年「可摺疊螢幕」成為三星在智慧型手機的重要發展方向,而今年陸續推出的 Galaxy Z Flip 與 Galaxy Z Fold2 都在市場上獲得不錯的評價,同時三星在這方面的專利技術也累積了許多成果,阿祥先前也有為大家介紹多個三星可摺疊螢幕的設計,包括目前還未商品化的「雙摺疊」形式。
你可能對這個有興趣…
- 辦公軟體全場最便宜 4 折起!Office、作業系統限時特殺最低價!
- 不出門也能買菜!新會員還有首購禮!
- 無綁約、無受限的電信選擇-無框行動,申辦就有機會獲得 7-11 $600 禮券
- 高速穩定、自由翻牆:Ivacy VPN 獨家超高折扣只有這裡
而近期國外媒體 LetsGoDigital 也再次揭露三星的另一個可摺疊螢幕專利,而三星顯示器的韓國官方部落格,近期也陸續發出圖文秀出包括捲軸式 OLED 螢幕的概念,以及雙摺疊螢幕的設計,也慢慢可以看出三星下一步的技術佈局方向。


而此次三星曝光的專利,正是採「雙摺疊」的設計,今年 5 月也在美國專利商標局(USPTO)與世界知識產權局(WIPO)申請登錄並在 11/19 發佈,內容則是牽涉到三種不同形式的雙摺疊式設計,其一為未曾面世的 Z 型摺疊設計,另外兩個則是基於現有 Galaxy Z Fold 2 與 Galaxy Z Flip 的形式,因此可以預期可能會是明年 Galaxy Z Fold3 與 Galaxy Z Flip 2 的新設計。

「對開」式的雙摺疊螢幕設計
這種摺疊設計位於中間的顯示器要比另兩側的顯示器寬兩倍,摺疊後所有螢幕都會隱藏在內側被妥善保護,不過這樣的設計讓摺疊後的手機比一般手機更寬,不太好握持(感覺比較像是平板的設計方案),而且外螢幕也只能再設計一組通知螢幕作為訊息提示之用。

而這樣的設計也不會有螢幕需要挖孔或是預留前鏡頭的設計,透過一邊機身摺疊,即可將主鏡頭變成前鏡頭,透過其餘的螢幕空間作為預覽畫面使用。此外,這個專利設計也提到將可以整合一個「角度偵測器」在鉸鏈上,可檢測手機摺疊的方式與角度,來提供顯示介面的自動調整。
Z 字型的雙摺疊螢幕設計
專利中第一個設計就是 Z 型的設計,先前也有類似的概念曝光,而這樣的設計在摺疊後能做到比一般手機更窄,但厚度可能會較厚,且 Z 型摺疊勢必會有一部份的螢幕裸露在外,但好處是不需要額外的封面螢幕,不展開螢幕時也有充足空間來執行應用程式。

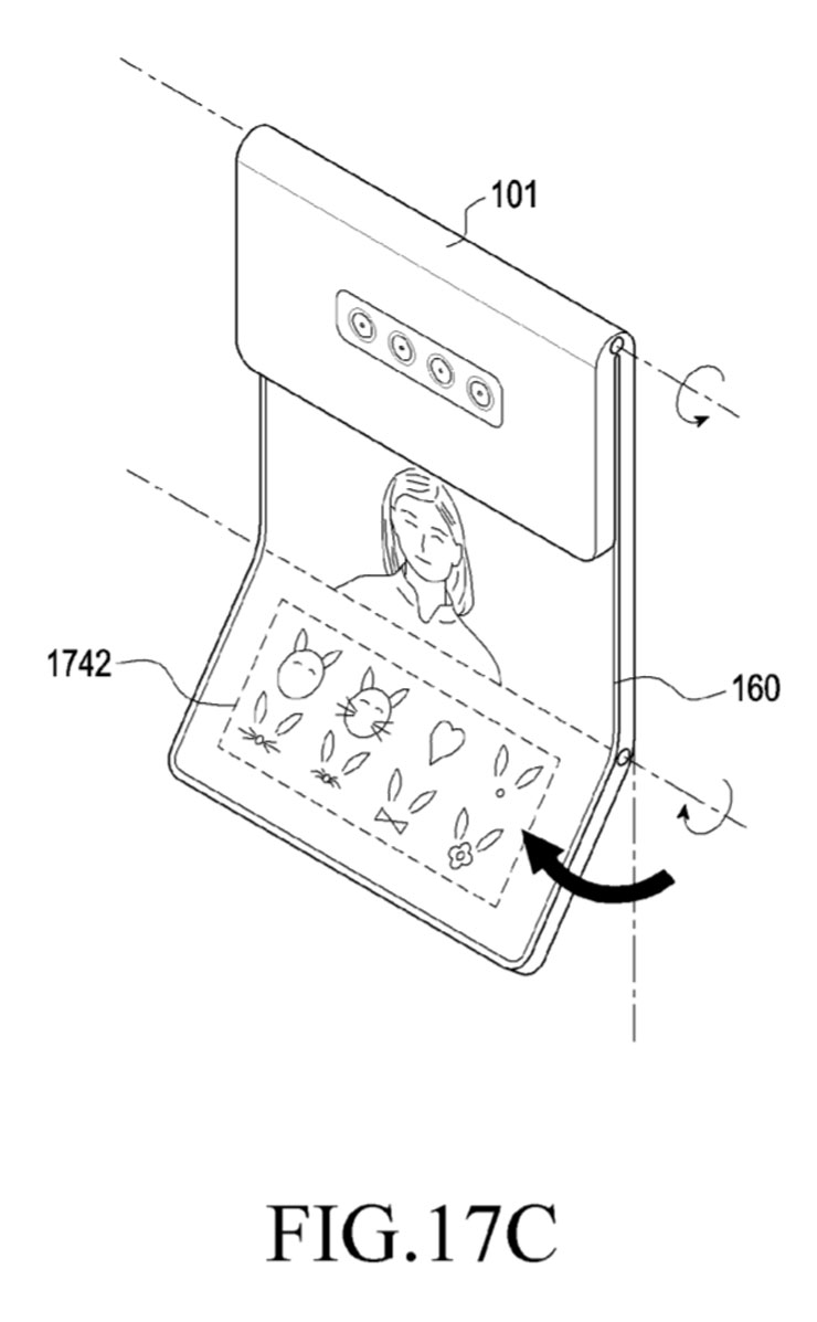
帶雙鉸鏈的直式對開翻蓋設計,會是 Galaxy Z Flip 2 的型態?
第三種雙摺疊設計被視為與 Galaxy Z Flip 的直式翻蓋設計類似,只是螢幕改為雙鉸鏈的摺疊設計,而且有趣的是鉸鏈可允許向兩個方向摺疊,因此應用的方式更為多元,可視情況將任一邊的螢幕向內或向外凹摺,也能透過只摺疊一邊螢幕讓手機架立於桌面上使用。

不過這樣的設計在兩邊螢幕向內翻摺後,就沒有外部螢幕可以使用,而相機方面也與第一種設計一樣,以螢幕翻摺的方式,讓使用者共用同一組四鏡頭的主相機。

而這樣的設計,也能讓螢幕的寬幅較 Galaxy Z Flip 更寬,用來看網頁或文件應該很適合,也能很好的應用在多重視窗的分割畫面上。

雙鉸鏈的摺疊形態,可能成為三星的下一個獨特賣點?
目前在市面上也可以看到其他品牌的手機針對螢幕的設計有不同的思維,而非只是單純走向可摺疊螢幕,像是 oppo X 2021 的捲軸式螢幕伸縮設計,LG Wing 的旋轉式雙螢幕,也因此三星可能在明年將可摺疊螢幕手機加入「雙鉸鏈」設計來塑造更多不同的獨特點,來確保在市場上的競爭力。

不過對於消費者而言,新科技固然有吸引力,但價格仍舊是決策購買與否的重點之一,加入了雙鉸鏈元素之後,可摺疊螢幕手機的價格是否會變得更高一截呢?這點仍舊是個未知數!
你可能對這個有興趣…
- 辦公軟體全場最便宜 4 折起!Office、作業系統限時特殺最低價!
- 不出門也能買菜!新會員還有首購禮!
- 無綁約、無受限的電信選擇-無框行動,申辦就有機會獲得 7-11 $600 禮券
- 高速穩定、自由翻牆:Ivacy VPN 獨家超高折扣只有這裡
相關連結:
Samsung Galaxy Z Flip 2 en Fold 3 met dubbel vouwbaar scherm | LetsGoDigital
일상 속 디스플레이의 발견 22편: 돌돌 말았다가 펼쳐서 쓰는 디스플레이! | 삼성디스플레이 뉴스룸
일상 속 디스플레이의 발견 21편: 멀티 폴더블 디스플레이로 새로운 세계를 펼쳐보다. | 삼성디스플레이 뉴스룸
三星雙摺疊螢幕專利文件
歷史上的這一天,我還寫了…
- Google 公佈 2025 年度搜尋排行榜:九類熱搜關鍵字,一次了解台灣人關注焦點 - 2025
- 軍規三防、極輕至薄:motorola edge 50 打造「美型硬實力」! - 2024
- 三星在英國、愛爾蘭推出「Samsung Boost」服務,指定機型可獲免費 Disney+、YouTube Premium…等優惠! - 2023
- VideoHunter 高清影片下載器功能解析:全能型影音下載助手!各網站經典內容永留存,不怕突然下架! - 2022
- Google Pixel Watch 要來了?疑似官方行銷素材外流,外型搶先看! - 2021
- Netflix 韓製奇幻劇《地獄公使(Hellbound)》觀後心得(微雷):用「恐懼」塑造「自律」的世界,比下地獄還可怕! - 2021
- ORICO NVMe M.2 SSD 外接盒開箱:纖薄體積,設計有型~效能表現不俗! - 2020
- 台版三星 Galaxy S10 系列率先升級 Android 10.0 與 OneUI 2.0!升級超有感! - 2019
- LINE 旗下服務全面導入人工智慧技術!「LINE BRAIN」計畫大規模招募台灣企業夥伴! - 2019
- [Telecom] 全部吃到飽!收訊最佳、網速最穩定選 LINE MOBILE 就對了!現在申辦最高再賺 499 LINE Points! - 2018












![[App] 連假返鄉、出遊別擔心交通大打結!「國道路況即時影像」查了再上穩妥當! [App] 連假返鄉、出遊別擔心交通大打結!「國道路況即時影像」查了再上穩妥當!](https://i2.wp.com/axiang.cc/wp-content/uploads/2015-02-17-215752-24.jpg?resize=232%2C155&quality=90&zoom=2)
無留言