雖說這一兩年華為一直受到中美貿易大戰的影響,導致於手機產品無法使用 GMS,甚至連核心的 SoC 製造都成問題,而影響到市場銷售,甚至讓人懷疑明年是否還有推出新機的可能,不過看起來華為並未放棄手機相關技術的研發-根據國外媒體 Gadgets 360 與 Gsmarena 的報導指出,華為目前已有創新的「液體鏡頭(Liquid Lens)」專利技術,可以大幅提升對焦速度達「毫秒級」,幾乎與人眼一致,而這項技術的相機模組完成率已接近 100%,可望於 2021 年進行大量生產。
你可能對這個有興趣…
- 辦公軟體全場最便宜 4 折起!Office、作業系統限時特殺最低價!
- 不出門也能買菜!新會員還有首購禮!
- 無綁約、無受限的電信選擇-無框行動,申辦就有機會獲得 7-11 $600 禮券
- 高速穩定、自由翻牆:Ivacy VPN 獨家超高折扣只有這裡
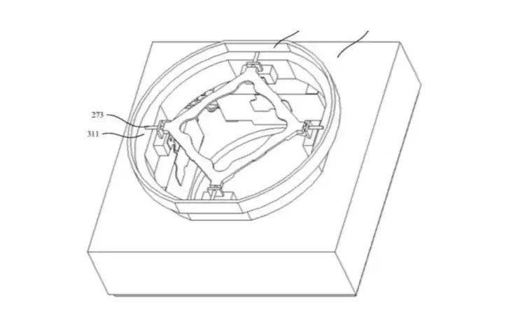
而中國的網媒快科技也揭露,華為的液體鏡頭很可能會被用在明年的 HUAWEI P50 系列上,而且將會應用於長焦端的相機上頭,而這項專利在去年(2019)12 月 25 日取得,並於今年 4 月公佈。

所謂的「液體鏡頭」技術,的是透過「液體」的控制改變形狀,以達成光線聚焦的目的,簡單來說就是模仿人眼的水晶體工作的方式,相較於傳統變焦鏡頭以兩個定焦鏡片之間距離的控制來進行對焦,效率要更高。而報告中也指出,華為的技術方案可用於驅動液體透鏡的馬達,來滿足自動對焦與光學防手震的性能要求,並能提升馬達在特定條件下的可靠性。

科普時間:什麼是液體鏡頭(Liquid Lens)?
液體鏡頭(液態鏡頭、液態鏡片)的技術,可追蹤到 2004 年,由飛利浦與三星各別發展出相關的原型產品,而概念是模仿人眼的水晶體,利用改變形狀來調整焦距,發展出「流體聚焦技術(Fluid Focus),目標在於能應用於照相手機或數位相機…等小型光學產品。

當時飛利浦打造出直衝與厚度均為 5.5mm 的模組,可在範圍 5 cm 至無限遠的物體進行快速對焦,每次對焦時間不超過 10ms,而兩組液體鏡頭的鏡片還能進一步組合成為變焦系統,不需要傳統的機械式移動鏡片,所以成本更低,壽命更長。

你可能對這個有興趣…
- 辦公軟體全場最便宜 4 折起!Office、作業系統限時特殺最低價!
- 不出門也能買菜!新會員還有首購禮!
- 無綁約、無受限的電信選擇-無框行動,申辦就有機會獲得 7-11 $600 禮券
- 高速穩定、自由翻牆:Ivacy VPN 獨家超高折扣只有這裡
相關連結:
Huawei P50 May Integrate Patented Liquid Lens Technology to Enable Millisecond-Level Focusing: Report | Technology News
Huawei to use liquid lens in its 2021 flagships – GSMArena.com news
液體透鏡技術介紹(PDF)
歷史上的這一天,我還寫了…
- 飛樂打氣王 2 急速無線電動打氣機 TP20II 開箱實測:打氣更快速,電量更提升!更易於攜帶的救車神器! - 2025
- 蘋果 2024 年銷售成長僅 0.4%,遠遠落後於競爭對手 - 2024
- 無線充電新規範 Qi2 將加入 MagSafe 磁吸功能!Android 陣營也能共享磁吸相關週邊了! - 2023
- 為 PS5 飆速升級!Kingston FURY Renegade SSD推出全新散熱片版本! - 2022
- LINE VOOM 重磅登台,正式宣戰影音社群!聚焦原創 IP、擴大招募 200 位短影音創作者! - 2021
- 整合行動更進一步?Windows 10 電腦明年將可以支援 Android 應用程式! - 2020
- 小米手錶開箱與使用心得分享:功能一應俱全,價格卻同樣平實! - 2019
- 到遠傳申辦 OPPO 新機,foodpanda 外送美食免費吃,讓你拍出美味一刻! - 2019
- [Unbox] 影音娛樂一把罩!適合全家人共享的全能平板:HUAWEI MediaPad M5 開箱與深度評測! - 2018
- [Camera] 超高畫質與快速對焦能力兼備!4,240萬畫素與10fps連拍能力新機 Sony α7R III 正式發表! - 2017










![[Unbox] 簡單.俐落:最輕巧、多品牌支援的筆電充電器首選「台達電Innergie PowerGear 45 Slim」開箱與使用心得! [Unbox] 簡單.俐落:最輕巧、多品牌支援的筆電充電器首選「台達電Innergie PowerGear 45 Slim」開箱與使用心得!](https://i2.wp.com/axiang.cc/wp-content/uploads/2015-11-20-175834-46.jpg?resize=232%2C155&quality=90&zoom=2)

一則留言
郭文龍
2020 年 11 月 30 日 於 12:25:34強大的科技公司 不 怕被封鎖 越受打擊則越 堅強 加油 勇往前進