先前一直有消息指出,三星將會把 Galaxy Note 系列的家傳寶刀「S Pen」移植至可摺疊螢幕手機 Galaxy Z Fold 3 上頭,讓超大螢幕能夠將生產力與應用發揮至極致,而先前也有相關專利表示三星已經可以克服 S Pen 在柔性螢幕使用的相容性。
你可能對這個有興趣…
- 辦公軟體全場最便宜 4 折起!Office、作業系統限時特殺最低價!
- 不出門也能買菜!新會員還有首購禮!
- 無綁約、無受限的電信選擇-無框行動,申辦就有機會獲得 7-11 $600 禮券
- 高速穩定、自由翻牆:Ivacy VPN 獨家超高折扣只有這裡

也因此有傳言指稱三星將於 2021 年就會推出首款配備 S Pen 的可摺疊螢幕手機,也因此可以判斷就會是 Galaxy Z Fold3 了,而近期發佈的三星新專利,就能看出 S Pen 將可以和柔性螢幕相容之外,甚至三星已經想好了這支 S Pen 應該要如何收納至空間有限的機身中。

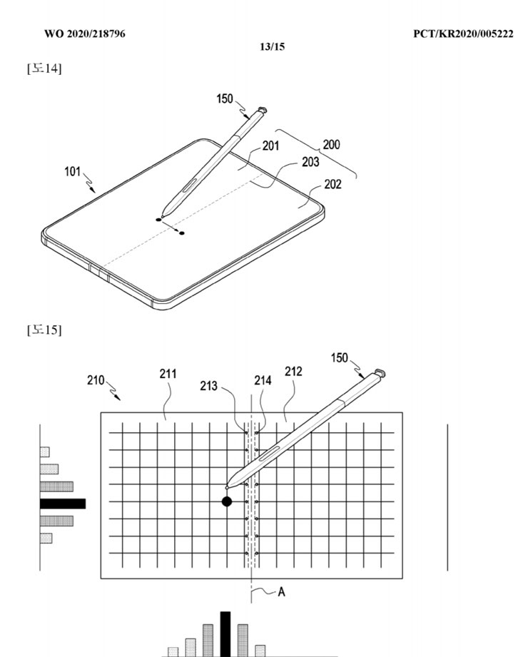
根據外媒 LetsGoDigital 的報導指出,三星在四月已經向世界知識產權局(WIPO)申請專利,並於今年 10/29 正式發佈,專利文件也長達 56 頁之多,不過專利內的圖片是以一代的 Galaxy Fold 作為示意,不過還是可以清楚發現到這樣的設計與現有的 Galaxy Note 系列很像,有著類似大小的 S Pen 與筆槽收納機制。


先前已有報導指出,三星將會採用「主動式靜電(AES)」技術取代「電磁共振(EMR)」的 S Pen 技術,這也讓螢幕可以少一個數位化儀,讓結構更為簡化;此外,三星也打算讓現有的超薄玻璃(UTG)從 30 微米提升至 60 微米,來強化 S Pen 書寫時的穩定度。

不過距離三星 Galaxy Z Fold3 的發佈還有一段時間,若從今年的時程來估算也要等到明年的 8 月左右了,也因此中間也可能會有一些設計細節上的小變化。

你可能對這個有興趣…
- 辦公軟體全場最便宜 4 折起!Office、作業系統限時特殺最低價!
- 不出門也能買菜!新會員還有首購禮!
- 無綁約、無受限的電信選擇-無框行動,申辦就有機會獲得 7-11 $600 禮券
- 高速穩定、自由翻牆:Ivacy VPN 獨家超高折扣只有這裡
相關連結:
Samsung Z Fold 3 opvouwbare Galaxy smartphone met S Pen | LetsGoDigital
Galaxy Z Fold3 的 S Pen 專利文件
歷史上的這一天,我還寫了…
- 夏普全新推出 AQUOS sense10,搭載 AI 影像與通話降噪功能,日系多彩展現獨有質感 - 2025
- 小米雙 11 五大新品領軍!明星商品五折起,曬單抽萬元禮金! - 2024
- HUAWEI 雙11 有「購」狂! 全品項限時下殺 最高 4 折起,現省近 1.5 萬! - 2023
- Motorola 雙 11 放大絕!edge 旗艦系列「買一送一」!指定手機 67 折! - 2022
- Soundcore 聲闊全新旗艦款真無線耳機 Liberty 3 Pro 正式在台上市!Hi-Res Wireless 金牌認證、ACAA 2.0 與自適應 ANC 主動降噪一應俱全! - 2021
- 安心亞也愛不釋手!Logitech POP MOUSE 無線藍牙滑鼠新上市 EMOJI 自訂表情鍵,Smart Wheel智能滾輪,繽紛色系潮感絕配~11/1 首賣「POP 鍵鼠組合」! - 2021
- 高通 Snapdragon 875 的實力提前揭曉!安兔兔 Antutu 跑分勝過 iPhone 12 系列的 A14 達 1.5 倍! - 2020
- 小米台灣 2019 雙 11 超級購物節來了!百款商品下殺,現折+領券最高降 $3500! - 2019
- [HA] 高 CADR值低噪音兼具!BRISE 新一代空氣清淨機 C600 正式發表!強勢上線 flyingV 火熱募資中! - 2018
- [Event] 誰說1111只有光棍節?遠傳網路門市1111購物節來了! 11月起一連11天都有超值好禮等你來搶! - 2017













無留言