近兩年不難發現到,三星在柔性螢幕技術方面非常積極,也一連推出三款不同類型的可摺疊螢幕產品,不過柔性螢幕除了可以做成可摺疊螢幕機種,三星似乎也打算把它用在其他「特殊應用」上頭?國外媒體 LetsGoDigital 就發現到三星的新專利,將透過柔性螢幕技術打造出獨特的「可彈出式機身」,為揚聲器創造與更大的共鳴腔,來展現出更好的音質。
你可能對這個有興趣…
- 辦公軟體全場最便宜 4 折起!Office、作業系統限時特殺最低價!
- 不出門也能買菜!新會員還有首購禮!
- 無綁約、無受限的電信選擇-無框行動,申辦就有機會獲得 7-11 $600 禮券
- 高速穩定、自由翻牆:Ivacy VPN 獨家超高折扣只有這裡

由於目前的直立型智慧型手機,多半強調輕薄設計,但相對的就壓縮到手機音效方面的表現,而這項技術也可望應用在 Galaxy S 系列的手機上(所以應該可能會出現在 Galaxy S21 上頭?)。




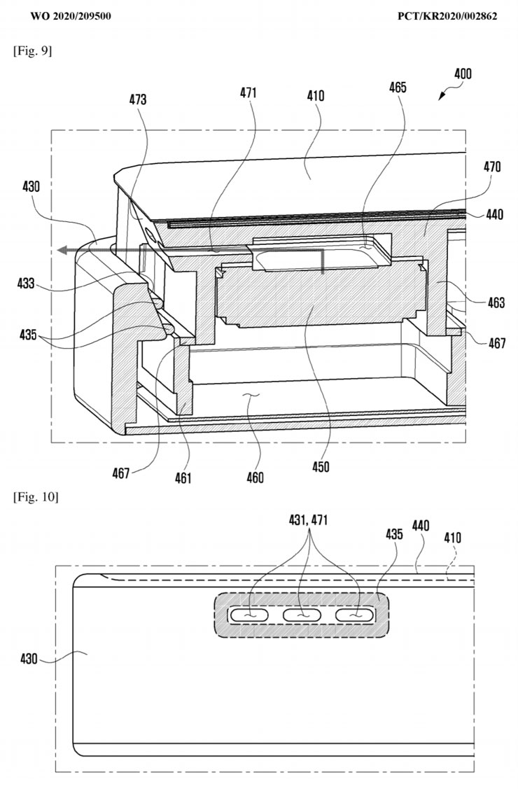
根據三星在 2020 年 10 月 15 日發表的新專利文件顯示,三星透過柔性螢幕的特性,讓機身上半部可以透過「彈出」來增加手機內更多空間,以作為揚聲器的共鳴室,藉此可以實現更專業的音效。

除了彈出式機身讓機身上半部增加空間,在機身邊框出也可以增加更多揚聲器孔,而這樣的設計也不會影響到手機原本的聽筒、前鏡頭與各種感測器。



除了揚聲器,機身內部也安排了額外的冷卻風扇,可在手機上半段彈出時啟動,可以有效提升機身內部的散熱效果。

除了獨特的彈出式機構設計,大家也可以從專利文件看出三星在手機邊框的設計也與前不久上市的 iPhone 12 有些類似,同為平整化的設計,讓手機外觀看起來頗具工業風格,而這樣的設計也可能與三星顯示器在韓國新註冊的「Blade Bezel(刀鋒邊框)」有些不謀而合。

明年三星的新旗艦 Galaxy S21(Galaxy S30)在外型設計上是否會讓大家再次耳目一新呢?似乎蠻值得大家期待的呢!

你可能對這個有興趣…
- 辦公軟體全場最便宜 4 折起!Office、作業系統限時特殺最低價!
- 不出門也能買菜!新會員還有首購禮!
- 無綁約、無受限的電信選擇-無框行動,申辦就有機會獲得 7-11 $600 禮券
- 高速穩定、自由翻牆:Ivacy VPN 獨家超高折扣只有這裡
相關連結:
Samsung Galaxy S-serie smartphone met Pro Sound speakers | LetsGoDigital
Samsung voorziet Galaxy S21 van Blade Bezel | LetsGoDigital
samsung-galaxy-s-serie-smartphone 專業文件
歷史上的這一天,我還寫了…
- realme 15 系列正式登場!同價位規格最頂都會夜拍「不夜機」,更有跨界權力遊戲限量版! - 2025
- Galaxy AI 繁中版 10 月底上線,智慧體驗再升級! - 2024
- EaseUS Partition Master 18.0 功能全解析:磁碟相關疑難雜症一次解決! - 2023
- 雙 11 檔期 Logitech 推出超殺優惠!熱門商品 1111 元超狂限時搶,指定商品最低 5 折! - 2022
- 三星商城 Samsung Week 雙 11 生日慶!50 款超狂產品自由配,最高現省 NT$ 11,111 ! - 2021
- 三星 Galaxy S21+ 原始工程設計圖已流出!外觀設計一如先前曝光渲染圖! - 2020
- Google Pixel 4 系列今日正式開賣,台灣大哥大獨家首賣加碼早鳥禮 Nest Mini 智慧音箱! - 2019
- 規格再升級!全幅旗艦 Sony α9 II 正式發表,預計 11月上旬開賣! - 2019
- [FB] 分享連結到臉書,預覽圖片老是空白不見?試試「偵錯工具」解決你的困擾! - 2018
- [Unbox] 臉書直播必備!圓剛 AverMedia GC510 擷取盒、BU110 UVC擷取卡、AM310 專業麥克風…讓你輕鬆分享遊戲畫面、外接高畫質單眼、收音也超清晰! - 2017












![[Upgrade] 台版三星Galaxy S6 / S6 edge正式釋出Android 5.1.1更新,來看看有哪些功能吧! [Upgrade] 台版三星Galaxy S6 / S6 edge正式釋出Android 5.1.1更新,來看看有哪些功能吧!](https://i0.wp.com/axiang.cc/wp-content/uploads/2015-08-01-233144-42.jpg?resize=232%2C155&quality=90&zoom=2)
無留言