![[Mobile] 除了 Galaxy X ,三星還有其他可折疊式智慧機? - 阿祥的網路筆記本 [Mobile] 除了 Galaxy X ,三星還有其他可折疊式智慧機? - 阿祥的網路筆記本](https://axiang.cc/wp-content/uploads/2014/q3/20171209221445_22.jpg)
圖:三星新取得的可折疊式智慧型手機專利,有兩片大尺寸的螢幕設計。
先前有不少外媒都揭露了三星已經在進行「可折疊式螢幕」的智慧型手機,像是據稱將在明年推出的 Galaxy X,而且就先前曝光的三星專利來看,可能的設計有好幾種。不過除了先前曾經看過螢幕可撓式的設計,根據國外媒體 LetsGoDigital 的報導指出,三星取得了新的折疊式智慧機專利,設計蠻接近先前中國品牌 ZTE 中興的 ZTE Axon M,外觀設計具了兩個大型螢幕,並使用金屬架將兩個螢幕連結起來,並在框架中內置了天線,而這樣的設計也可避免手機因折疊而產生訊號失真。
![[Mobile] 除了 Galaxy X ,三星還有其他可折疊式智慧機? - 阿祥的網路筆記本 [Mobile] 除了 Galaxy X ,三星還有其他可折疊式智慧機? - 阿祥的網路筆記本](https://axiang.cc/wp-content/uploads/2014/q3/20171209221448_9.jpg)
圖:三星新專利的雙螢幕手機正面,看起來就像是兩支手機串連在一起。
除此之外,三星這個新專利設計,在兩個螢幕之間的連結設計可以多方向進行彎曲,也因此可以依照使用的需求,來旋轉兩個螢幕的方向,可同時使用兩個螢幕,也可只使用單一一個。
![[Mobile] 除了 Galaxy X ,三星還有其他可折疊式智慧機? - 阿祥的網路筆記本 [Mobile] 除了 Galaxy X ,三星還有其他可折疊式智慧機? - 阿祥的網路筆記本](https://axiang.cc/wp-content/uploads/2014/q3/20171209221454_40.jpg)
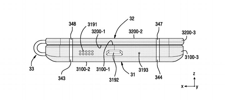
圖:手機的底側,可以看出其中一片螢幕較為薄一些,兩片螢幕之間有薄薄的金屬連結框架。
不過目前看到的專利文件,到真正的產品化,其實還是有待時間來醞釀,但也有永遠都無法變成真正產品的可能性。對於使用者來說,這樣的雙螢幕設計,和先前曝光的可折疊式螢幕在使用情境上肯定有不小的差異,到底哪一種比較符合大家的需求呢?
![[Mobile] 除了 Galaxy X ,三星還有其他可折疊式智慧機? - 阿祥的網路筆記本 [Mobile] 除了 Galaxy X ,三星還有其他可折疊式智慧機? - 阿祥的網路筆記本](https://axiang.cc/wp-content/uploads/2014/q3/20171209221457_80.jpg)
圖:兩片螢幕疊合在一起的樣子。
相關連結:
Samsung ontwikkelt opvouwbare smartphone variant | LetsGoDigital
三星專利文件
歷史上的這一天,我還寫了…
- YouTube 2025 年度回顧:推出個人化 YouTube Recap,年度熱門創作者、熱門音樂影片公開 - 2025
- Whoscall 示警:Telegram 帳號盜用災情再起!「以圖搜詐」用 AI 技術來反制! - 2024
- Petstro 沛德奧寵物推車開箱分享:309P 經典紐約系列 - 雙色千鳥,三輪設計更靈活,收摺簡單易攜帶! - 2023
- 年末倒數強檔!小米雙 12 購物節即日起開跑! - 2022
- 小豪包膜 HAO 燒鈦鏡頭保護圈 for iPhone 13 Pro Max 開箱:多一層防護,畫質也不變! - 2021
- SHARP AQUOS Sense4 Plus 開箱與深度實測:亮麗大螢幕與便利使用體驗兼具,價格平實入手更無負擔! - 2020
- 疑似 Galaxy S21 系列展示短片外流,外觀設計基本上就是這樣了!新主色將會是「幻象紫(Phantom Violet)」! - 2020
- 無框行動與 7-11 攜手共推「全自動化門號申辦取卡服務」!到小 7 就能搞定門號申辦與開通! - 2019
- 小米米家液晶小黑板(小米液晶手寫板) 13.5 吋 / 10 吋雙開箱:不傷眼,更環保的無紙化工作利器! - 2019
- [APP] 剪片免電腦、免花大把時間學習!善用 App,手機也能無腦創作吸睛短片! - 2018













無留言